Negli ultimi tempi si sono intensificati i rumor riguardanti la futura console di Nintendo, la tanto attesa Switch 2 (ammesso e non concesso che sia questo il nome scelto) sarebbe già stata mostrata agli addetti del settore in occasione della Gamescom, ma abbiamo anche avuto modo di vedere alcune indiscrezioni differenti circa i controller e alcuni possibili titoli di lancio.
Oggi però non parleremo nello specifico della futura console, quanto più di qualcosa di cui essa potrebbe beneficiare: Nintendo ha depositato un brevetto che si prefigge l’obbiettivo di risolvere un fastidioso problema comune a quasi tutti i controller, anche quelli dell’attuale Switch.
Samsung Galaxy S26 Ultra, 512GB
Offerta + sconto di 100€ da applicare in pagina (visibile se loggati)
Nintendo brevetta una tecnologia per joistick magnetici
È da parecchio tempo ormai che i controller delle console da gioco integrano le levette analogiche, se inizialmente queste componenti hanno rappresentato una sorta di rivoluzione nel settore, alla lunga hanno anche messo in evidenza tutti i loro difetti. Con il passare del tempo e la conseguente usura delle componenti interne infatti, può capitare che le levette analogiche non rispondano a dovere agli input dell’utente ma non solo, in diversi casi possono anche iniziare a “muoversi da sole”, anche se l’utente non le tocca dunque il personaggio del videogioco potrebbe muoversi ugualmente.
Tutto ciò va ad inficiare l’esperienza di gioco visto che rende i comandi del controller molto meno precisi, la stessa Nintendo ha dovuto affrontare diverse lamentele da parte degli utenti possessori di una Switch per il fenomeno ribattezzato come deriva dei Joy-Con; la società ha persino offerto riparazioni gratuite dei controller in diverse occasioni, ma il problema continua a riproporsi visto che dipende da una serie di difetti strutturali di alcune componenti.
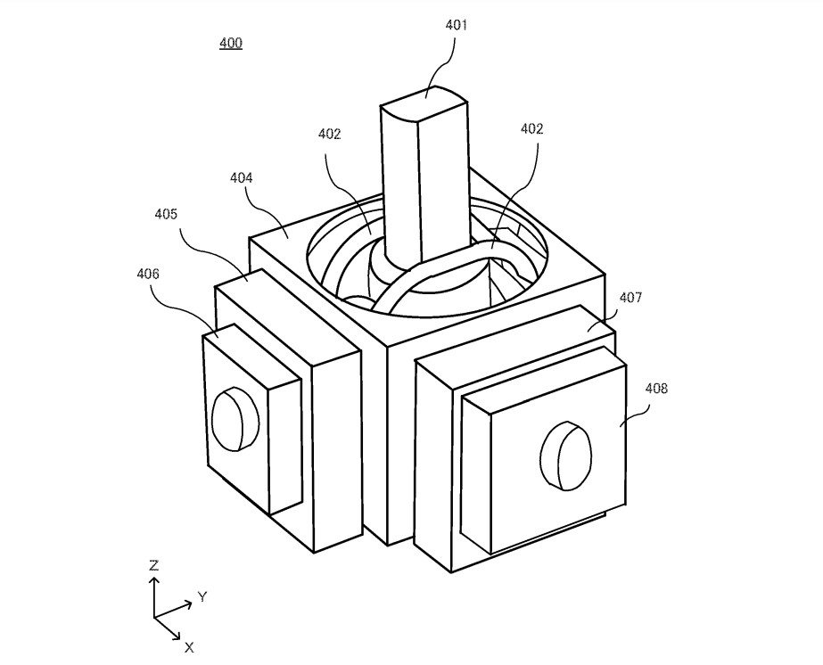
Nelle ultime ore però è emersa la notizia secondo cui Nintendo ha depositato un brevetto per un nuovo tipo di joystick che utilizza magneti, queste nuove componenti dovrebbero aiutare a mantenere i joystick centrati e ad evitare che “vadano alla deriva”; ecco come l’azienda descrive il nuovo sistema:
Questo sistema di elaborazione delle informazioni comprende: un controller comprendente un elemento operativo che deve essere spostato da una posizione iniziale mediante l’operazione dell’utente, una sezione che impartisce forza di ripristino che applica una forza di ripristino per riportare l’elemento operativo spostato alla posizione iniziale, una sezione di resistenza che utilizza un fluido magnetoreologico la cui viscosità cambia con l’intensità magnetica e che diventa resistente quando l’elemento operativo viene spostato da/verso la posizione iniziale, e una sezione di generazione del campo magnetico che fornisce il campo magnetico al fluido magnetoreologico; ed un circuito in grado di controllare la sezione di generazione del campo magnetico.

Al momento non ci sono indizi riguardo un’eventuale implementazione della nuova tecnologia sulla futura Nintendo Switch 2, è troppo presto infatti per asserire che il presunto FOCUS Pro 1 sarà realizzato con le nuove componenti del brevetto, ma l’intenzione di Nintendo di risolvere un problema ormai noto e alquanto fastidioso fa ben sperare.
Potrebbe interessarti anche: Nintendo Switch supporta Denuvo, mentre emergono altri rumor sul nuovo modello
I nostri contenuti da non perdere:
- 🔝 Importante: La prova di Reolink Home Hub: un sistema di video-sorveglianza in locale, affidabile ed economico
- 🚨 La prova di Reolink Home Hub: un sistema di video-sorveglianza in locale, affidabile ed economico
- 💰 Risparmia sulla tecnologia: segui Prezzi.Tech su Telegram, il miglior canale di offerte
- 🏡 Seguici anche sul canale Telegram Offerte.Casa per sconti su prodotti di largo consumo

