Per ovvi motivi, il settore della ricarica di veicoli elettrici è in fermento da anni, con soluzioni più e meno curiose che ci danno un’idea su cosa aspettarci dal futuro. Fra le ultime, c’è un sistema brevettato da Rivian che consente alla corrente di passare da una colonnina a una seconda auto elettrica (o altro veicolo) attraverso un’auto nel mezzo a mo’ di prolunga.
Si tratta di una sorta di ricarica in serie che permette cioè di collegare più vetture a una sola colonnina, attraverso il cosiddetto sistema “pass-through chargine”. Il perché di una soluzione simile? La necessità di installare meno stazioni di ricarica e quindi maggiore disponibilità con costi inferiori, soprattutto.
4 x Xiaomi Smart Tag
Smart Tracker, compatibile con Apple Find My e Google Android Find Hub
Come funziona l’idea di sistema di ricarica in serie di Rivian
Rivian depositò il 22 dicembre 2021 un brevetto poi pubblicato dallo USPTO (United States Patent and Trademark Office) lo scorso 22 giugno, brevetto che riguarda per l’appunto un sistema che mira a consentire il rifornimento di energia da veicolo a veicolo usando una sola fonte di alimentazione.
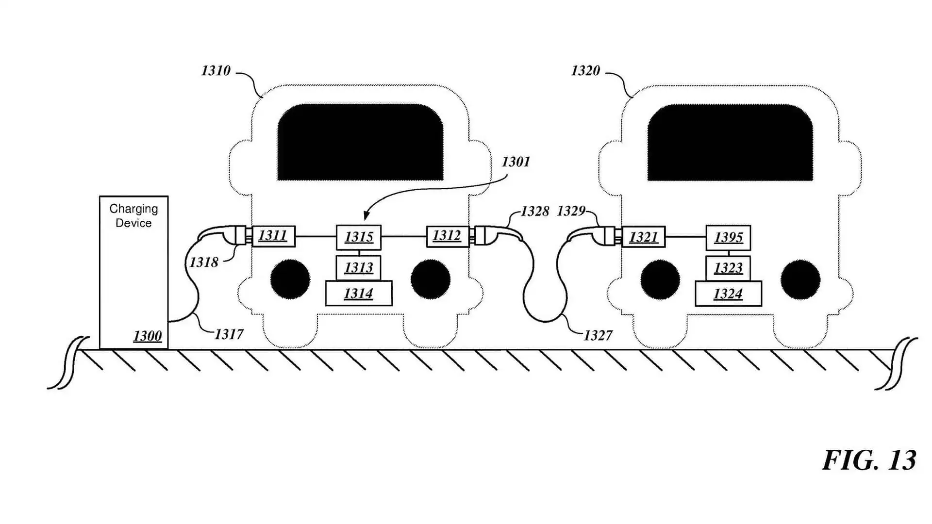
Come visibile nell’immagine di copertina, c’è quindi un dispositivo di ricarica (la colonnina) che passa la propria energia al primo veicolo elettrico, che potrà ricaricarsi e al tempo stesso fare da ponte per ricaricare un secondo veicolo elettrico collegato attraverso dei connettori appositi e a un dispositivo di commutazione da integrare nei veicoli stessi.
L’auto che si collega direttamente alla stazione di ricarica diventa quindi una sorta di prolunga, facendo passare l’energia che arriva dalla colonnina anche sulla seconda auto o altro veicolo collegato. Stando al brevetto di Rivian questo sistema di ricarica è compatibile sia in corrente continua che in alternata e funziona con connettori standard CCS (Combined Charging System); esclusi quindi i nuovi con lo standard nordamericano NACS (Tesla, Mercedes-Benz, Volvo e altri).
Per ora si tratta soltanto di un brevetto, la cui futura resa concreta non è affatto certa. Ma è lecito immaginare che un sistema del genere possa entrare effettivamente in produzione, soprattutto per far fronte alla futura necessità di sopperire alla mancanza di spazio e di stazioni di ricarica che, in questo modo potrebbero ridursi notevolmente di numero. Ad esempio, nei parcheggi privati o nei garage, collegare le auto fra loro per ricaricarle potrebbe essere una soluzione più semplice, pratica ed economica che andrebbe a risolvere il problema della rotazione, cioè la necessità di spostare le auto elettriche cariche per consentire la ricarica di altri veicoli.
Assenti invece accenni alla distribuzione delle potenze e alla ricarica inversa, cioè alla possibilità di ricaricare un veicolo con un altro; ma probabilmente ne sapremo di più prossimamente, da Rivian o magari da altre aziende del settore.
Potrebbero interessarti anche: Conviene acquistare un’auto elettrica rispetto ad una a benzina? e Auto elettriche e colonnine di ricarica in Italia: primo trimestre 2023 da record
I nostri contenuti da non perdere:
- 🔝 Importante: Recensione SwitchBot AI Hub, l'hub definitivo per la smart home
- 🚨 Vuoi un notebook gaming serio senza spendere troppo? MSI Cyborg 15 con RTX 5060 è la risposta
- 💰 Risparmia sulla tecnologia: segui Prezzi.Tech su Telegram, il miglior canale di offerte
- 🏡 Seguici anche sul canale Telegram Offerte.Casa per sconti su prodotti di largo consumo

