In diverse occasioni sulle nostre pagine vi abbiamo riportato delle più svariate tipologie di brevetti nel settore tecnologico, Apple è certamente una delle aziende più attive da questo punto di vista, non necessariamente per andare a sviluppare i prodotti in questione, ma magari anche solo per accaparrarsi l’idea e richiedere il pagamento delle royalties qualora qualcuno in futuro volesse sviluppare qualcosa di simile.
Poco tempo fa abbiamo visto come la società avesse depositato un brevetto per lo sviluppo di un iPhone che non necessiterebbe di custodia protettiva, oggi invece vediamo qualcosa che potrebbe, in futuro, portare alla nascita di un iPhone con display arrotolabile.
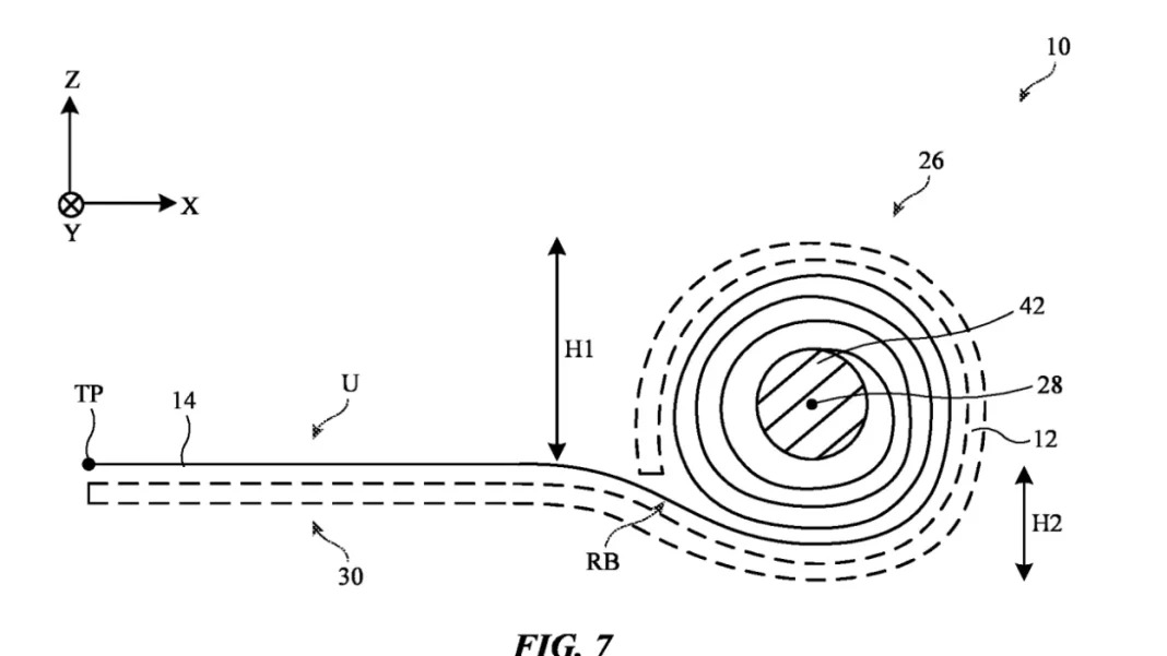
Apple deposita un brevetto per display arrotolabili
L’ufficio brevetti e marchi degli Stati Uniti ha recentemente pubblicato una richiesta di brevetto depositata da Apple per un dispositivo con display arrotolabile o scorrevole, una tecnologia simile potrebbe in futuro venir adottata dall’azienda non solo per la realizzazione di un iPhone con display arrotolabile, ma potrebbe essere utilizzata anche per differenti tipologie di prodotti come iPad, televisori, display desktop e cruscotti delle auto tanto per fare alcuni esempi.

La tecnologia presentata nel brevetto si riferisce ad un dispositivo con un display che può passare da uno stato arrotolato per la memorizzazione a uno stato srotolato per la visualizzazione: quando si trova nello stato srotolato il display si presenterebbe come piatto, mentre nello stato arrotolato si piegherebbe attorno a un asse su un rullo.
Il display potrebbe avere al contempo una matrice di pixel per la riproduzione delle immagini, nonché uno strato protettivo trasparente, che potrebbe includere uno strato di vetro assottigliato localmente per favorire la flessione.
Lo strato protettivo posizionato sulla superficie rivolta verso l’esterno sarebbe in grado di sopportare la potenziale esposizione a oggetti che causano graffi, ma anche la superficie rivolta verso l’interno godrebbe di un’apposita protezione e probabilmente presenterebbe meno irregolarità superficiali. I piani dell’azienda prevedono la prevenzione della rottura dello strato di vetro facendo sì che la superficie rivolta verso l’esterno riceva sollecitazioni di compressione, pratica che aiuterebbe a evitare che eventuali graffi causino danni al display quando viene arrotolato.
Come già detto in diverse occasioni, il deposito del brevetto in questione non implica necessariamente che Apple stia sviluppando un iPhone con display arrotolabile, ma non esclude nemmeno che in futuro la società possa volersi cimentare in questo settore, del resto abbiamo già visto prototipi di dispositivi di vario genere con display di questa tipologia e, ad un certo punto, il colosso di Cupertino potrebbe non voler più stare semplicemente a guardare.
Potrebbe interessarti anche: MacBook con display pieghevole Samsung? Apple ci starebbe pensando
I nostri contenuti da non perdere:
- 🔝 Importante: Recensione ASUS ExpertBook Ultra: la vera sorpresa tra i notebook con Intel Core Panther Lake
- 🚨 I migliori Notebook MSI Prestige, adatti per ogni esigenza
- 💻 La prova di Reolink Home Hub: un sistema di video-sorveglianza in locale, affidabile ed economico
- 💰 Risparmia sulla tecnologia: segui Prezzi.Tech su Telegram, il miglior canale di offerte
- 🏡 Seguici anche sul canale Telegram Offerte.Casa per sconti su prodotti di largo consumo

