Circa tre anni fa, Apple ha iniziato a rivoluzionare la propria line-up di computer della gamma Mac sostituendo i modelli plasmati sulle CPU Intel con quelli basati sui SoC della famiglia Apple Silicon, su architettura ARM.
Dal momento che gli Apple Silicon funzionano esclusivamente con i core GPU integrati nel chip, il colosso di Cupertino sta lavorando per espandere le possibilità dei propri SoC aggiungendo più opzioni: tra queste, come suggerito da alcuni brevetti, rientrano le GPU PCI-E funzionanti in tandem con i core grafici integrati; potrebbe essere una buona notizia per coloro che stanno valutando l’acquisto del prossimo Mac Pro.
Indice:
Quattro brevetti suggeriscono novità interessanti per il futuro Mac Pro
Rispetto ai precedenti modelli basati sulle soluzioni Intel, i più recenti Mac con chip Apple Silicon non sono predisposti per dare all’utente la possibilità di sfruttare GPU esterne tramite le porte Thunderbolt o di aggiungere ulteriori GPU internamente (ad esempio sul Mac Pro che offrirebbe lo spazio per farlo).
Se per la maggior parte degli utenti Mac questo potrebbe non essere un problema, per altri questo potrebbe essere un problema non indifferente, specie per i più esigenti che scelgono un Mac Pro cercando una macchina senza compromessi.
Quattro domande di brevetto depositate da Apple presso l’USPTO (United States Patent and Trademark Office, ovvero l’ufficio brevetti statunitense) e pubblicate nella giornata di ieri, sembrano rivelare che il colosso di Cupertino stia almeno prendendo in considerazione questo problema.
Apple Silicon ha spinto Apple a realizzare macchine non aggiornabili
Il passaggio all’architettura ARM, con gli Apple Silicon M1 prima e gli Apple Silicon M2 poi, ha portato ai computer Mac miglioramenti incredibili rispetto alle precedenti versioni con processori Intel; parte di ciò è da ricercarsi nel modo in cui Apple abbia progettato i propri chip, rompendo di fatto quelli che erano dei veri e propri colli di bottiglia.
Senza entrare troppo nel dettaglio, un esempio lampante di questa rottura si può ricercare nel meccanismo di gestione della memoria RAM: a differenza dei chip destinati alla memoria RAM dei computer convenzionali, gli Apple Silicon offrono il sistema Unified Memory che sposta la RAM direttamente sul processore centrale, accelerando drasticamente la velocità con cui la CPU può sfruttare la RAM a disposizione.
Tutto ciò, tuttavia, si paga con il fatto che un utente non può aggiornare il proprio Mac in un secondo momento ed è costretto a rimanere con ciò che ha a disposizione dal primo giorno per tutto il ciclo di vita della macchina.
I chip Apple Silicon contengono anche una GPU al loro interno e, affinché vi sia il supporto a schede grafiche di terze parti, il colosso di Cupertino dovrebbe trovare un meccanismo per superare alcuni limiti:
- Includere spazio internamente per ospitare schede grafiche o connettori per schede grafiche esterne
- Trovare un modo per determinare quando un’attività possa essere gestita al meglio dalla GPU integrata o da quella esterna/aggiuntiva
- Recupero dei dati dalla GPU non integrata
- Gestire il modo in cui vengono recuperati questi dati.
I quattro brevetti (linkati in fonte alla fine dell’articolo), che ora scopriremo più nel dettaglio, affrontano in parte queste tematiche, suggerendo che qualcosa potrebbe muoversi già con il prossimo Mac Pro o, al massimo, con il modello ancora successivo.
I vantaggi del supporto a più schede grafiche
Nella domanda di brevetto “Logical Slot To Hardware Slot Mapping For Graphics Processors”, la stessa Apple sottolinea che le GPU hanno crescenti capacità di elaborazione e vengono ampiamente sfruttate per carichi di lavoro sempre più importanti, con gli sviluppatori di software che hanno progettato parti sostanziali delle proprie app per spostare il carico di lavoro sulla GPU.
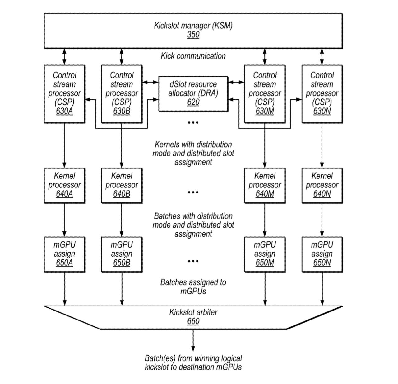
All’interno del brevetto, quindi, Apple spiega il meccanismo con cui andrà a prevedere l’integrazione di più schede grafiche o, più in generale, di unità di espansione in tutto il sistema, prevedendo una sorta di tessuto di comunicazione caratterizzato dalla presenza di nodi chiamati “kickslot” (che potrebbero essere degli slot PCI-E interni o esterni al computer).
Una scheda grafica esterna o interna che sia ma collegata tramite qualcosa di simile ad una PCI-E, pertanto, potrebbe andare ad occupare uno di questi slot; sarebbe poi il sistema operativo macOS a gestire il passaggio dall’uno all’altro.

Come funzionerà il passaggio tra le GPU nel prossimo Mac Pro?
Nella seconda domanda di brevetto, intitolata “Kickslot Manager Circuitry For Graphics Processors”, viene spiegato il meccanismo del passaggio da una scheda grafica all’altra; questo, sembra richiedere una tecnologia simile alla vecchia SLI (Scalable Link Interface) di Nvidia.
Apple afferma che i circuiti di gestione dello slot possono memorizzare (sfruttando una voce del circuito dello slot di tracciamento), informazioni specificate dal software (che quindi passano attraverso macOS) per una serie di lavori grafici.
In sostanza, due o più GPU potranno lavorare insieme come parte di un unico processore grafico, purché vi sia una pianificazione, messa nero su bianco attraverso la terza domanda di brevetto, intitolata “Affinity-Based Graphics Scheduling”.
Il tema portante di questo terzo brevetto è la mappatura, da parte del software, delle parti di lavoro grafico da assegnare alle varie sotto-unità del processore grafico: vedere tutte le GPU presenti come parti di un unico blocco, e avere una mappatura ben definita di come suddividere il lavoro, potrebbe “migliorare l’efficienza della cache, consentendo di assegnare il lavoro grafico che accede alle stesse aree di memoria allo stesso gruppo di sotto-unità che condividono una cache”.

Recupero dei dati da una delle GPU
Arriviamo alla quarta e ultima domanda di brevetto depositata da Apple, intitolata “Software Control Techniques For Graphics Hardware That Supports Logical Slot”.
Questa domanda include descrizioni di come i circuiti possano determinare le mappature tra slot logici e slot hardware distribuiti per diversi set di lavoro grafico: sarà il software a specificare le informazioni legate alla priorità dei vari lavori grafici, come distribuire il carico, gestire la pianificazione e il recupero dei dati tramite registri che si occuperanno di prendere le informazioni dai vari slot logici.

Segui APPLE Italia su Telegram, ricevi news e offerte per primo
Apple AirPods Pro 3, ANC
Coupon: TUTTOA30 + sconto a carrello selezionando pagamento PayPal
Quando vedremo più schede grafiche in un Mac?
Come anticipato, ognuna delle domande di brevetto tra quelle recentemente depositate da Apple prova a superare i limiti di cui vi abbiamo parlato in apertura e lascia intendere che il desiderio di consentire l’utilizzo parallelo di più GPU, tra quella integrata nel chip Apple Silicon e quelle PCI-E (interne in caso di Mac Pro o esterne tramite adattatori Thunderbolt in caso di altri computer Mac), sia concreto.
La domanda che potremmo porci a questo punto è la seguente: quando vedremo un Mac con chip Apple Silicon che avrà il supporto a più schede grafiche? Rispondere a questa domanda non è semplice perché, spesso, il colosso di Cupertino deposita brevetti che non vengono mai realizzati o che vengono realizzati solo dopo molti anni.
Nonostante i lavori in corso, non c’è quindi alcuna garanzia che il prossimo Mac Pro offra già questa possibilità; tuttavia, in futuro, potremmo realmente assistere all’arrivo di un Mac Pro (o qualsiasi altro computer della mela morsicata) col supporto alle schede grafiche PCI-E in parallelo ai core grafici integrati nel chip Apple Silicon.
Potrebbero interessarti anche: MacBook Air 15, ci siamo quasi: nuove conferme del lancio imminente e Windows 11 sui Mac M1 e M2: ora il supporto di Parallels è ufficiale
I nostri contenuti da non perdere:
- 🔝 Importante: HUAWEI porta i pagamenti contactless sugli smartwatch in Europa grazie a Curve Pay
- 🚨 I migliori Notebook MSI Prestige, adatti per ogni esigenza
- 💻 La prova di Reolink Home Hub: un sistema di video-sorveglianza in locale, affidabile ed economico
- 💰 Risparmia sulla tecnologia: segui Prezzi.Tech su Telegram, il miglior canale di offerte
- 🏡 Seguici anche sul canale Telegram Offerte.Casa per sconti su prodotti di largo consumo

