Questa settimana è stata pubblicata una nuova domanda di brevetto dall’US Patent and Trademark Office (si tratta dell’Ufficio Brevetti degli Stati Uniti). Nella domanda si evince la volontà di Apple di espandere la tecnologia della tastiera dei propri MacBook.
4 x Xiaomi Smart Tag
Smart Tracker, compatibile con Apple Find My e Google Android Find Hub
La tastiera retroilluminata con funzioni dinamiche
La società americana sembra voglia far progredire la tecnologia esistente delle proprie tastiere in modo tale che, in futuro, siano in grado di mostrare simboli diversi a seconda del contesto.
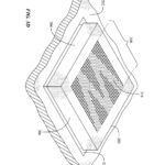
Attualmente, le tastiere dei MacBook sono dotate della classica tecnologia di retroilluminazione avente come unico scopo quello di rendere visibili i tasti in ambienti bui. A conferma di ciò, i tasti delle versioni attuali utilizzano etichette prestampate che, a lungo andare, possono essere soggette ad usura, riducendo o addirittura cancellando la visibilità del tasto compromettendone l’estetica e l’usabilità. Come sottolineato da Patently Apple, l’azienda è intenzionata a risolvere questi problemi tant’è che sta pensando a una tastiera in cui ogni tasto presenta una finitura perforata sia sullo strato superiore sia su quello inferiore. La retroilluminazione, quindi, sarebbe in grado di illuminare in modo intelligente ogni tasto per mostrare diversi simboli e lettere in base al contesto di utilizzo.
Quando la tastiera viene attivata, tuttavia, sui tasti possono apparire i glifi relativi a ciascuno dei tasti a causa della luce emessa attraverso i tasti da sotto le superfici superiori dei tasti stessi. I glifi possono apparire fluttuanti grazie alle singole sorgenti luminose o ai display posizionati sopra o sotto ciascuno dei tasti. In questo modo, tutta la luce emessa dalle sorgenti luminose o dai display può essere diretta attraverso la parte superiore dei tasti per generare i glifi, rispetto alle tastiere convenzionali in cui la luce di solito si accende tra i tasti adiacenti o è visibile tra i tasti o sotto gli stessi.
Il brevetto include anche uno scenario in cui la sorgente luminosa è una matrice di LED, come i display che utilizzano la tecnologia micro-LED o i pixel OLED.
La domanda di brevetto dà ulteriori dettagli circa le varie possibilità e tecnologie di illuminazione dei tasti:
In alcune situazioni, le sorgenti luminose o i display possono includere un gruppo di LED, ad esempio un display che utilizza micro-LED o pixel OLED. Le perforazioni dei tasti possono corrispondere in numero ai pixel del display in modo che, ad esempio, ogni singolo pixel del display possa fornire luce a una singola perforazione. In questo modo, i display e le sorgenti luminose possono essere controllati per generare glifi modificabili o regolabili tra diverse forme, lettere, colori, simboli, animazioni, lingue e altre caratteristiche.
Utilizzando la siffatta costruzione, i copritasti della tastiera possono essere realizzati con materiali diversi da quelli usati nel copritasti delle tastiere convenzionali attualmente sul mercato. Si pensa infatti all’utilizzo di metalli tra i quali l’alluminio, adatto soprattutto per le sue caratteristiche di leggerezza.
La domanda di brevetto include anche alcune immagini che mostrano come la nuova tecnologia potrebbe funzionare nella realtà.



Come sempre, la richiesta di brevetti non indicano con certezza che la tecnologia venga effettivamente implementata in futuro. L’azienda considera costantemente nuove tecnologie e deposita regolarmente innumerevoli brevetti che non vedranno mai la luce (spesso perché si incontrano difficoltà nella realizzazione o semplicemente perché, data la rapida evoluzione del mondo tecnologico, vengono sostituiti con una tecnologia migliore).
Questa domanda di brevetto è stata depositata il 10 giugno 2021 ed è stata resa pubblica solo oggi. L’invenzione è accreditata a Shravan Bharadwaj, director of manufacturing design che è stato in Apple per oltre dieci anni.
La strada che Apple vuole intraprendere è chiara: continuare a innovare sulle tastiere, nonostante i precedenti tentativi di cambiare le tecnologie esistenti non siano andati tutti a buon fine. Non è un compito facile, anche perché l’azienda dovrebbe cercare di conciliare innovazione con tradizione, senza stravolgere l’affidabilità del design e della funzionalità delle tastiere già esistenti.
I nostri contenuti da non perdere:
- 🔝 Importante: Recensione SwitchBot AI Hub, l'hub definitivo per la smart home
- 🚨 Vuoi un notebook gaming serio senza spendere troppo? MSI Cyborg 15 con RTX 5060 è la risposta
- 💰 Risparmia sulla tecnologia: segui Prezzi.Tech su Telegram, il miglior canale di offerte
- 🏡 Seguici anche sul canale Telegram Offerte.Casa per sconti su prodotti di largo consumo
