In un brevetto approvato oggi dall’USPTO troviamo informazioni dettagliate su un progetto che Apple ha in serbo da lungo tempo, considerando che la presentazione dell’istanza è datata 2016. All’interno dei documenti contenuti nel brevetto ci sono informazioni su di un nuovo design che potrebbe tornare utile nella realizzazione di un iPhone con display pieghevole.
La compagnia di Cupertino continua ad esplorare tutte le possibilità per creare un iPhone pieghevole, e lo dimostra anche la serie di brevetti recenti riguardanti altri dispositivi che possono essere piegati, come questo iMac.
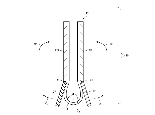
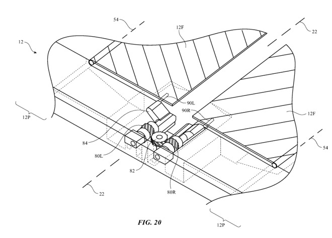
Tra gli schemi salta all’occhio un nuovo sistema fatto da linguette pieghevoli che consentirebbe una chiusura più robusta, a protezione ma anche sostegno del display. Una delle maggiori difficoltà, durante la progettazione di uno smartphone flessibile, è quella di evitare che il sottile film flessibile si possa sgualcire, creando una antiestetica piega lungo un asse, che a lungo andare potrebbe indebolirne la struttura e causarne la definitiva rottura.

È il caso ad esempio dei problemi riscontrati con Huawei Mate X e Samsung Galaxy Fold, che hanno impiegato mesi per arrivare sul mercato, proprio per correggere il tiro e assicurare un’esperienza di alto livello che duri nel tempo. Anche il prossimo RAZR di Motorola utilizzerà un display flessibile, ed è dotato di una cerniera particolare sui lati che consente di prevenire la formazione della piega.
La cerniera progettata da Apple consente allo schermo di estendersi quando viene utilizzato in modalità piana; quando arriva il momento di essere piegato, la cerniera lascia uno spazio vuoto abbastanza piccolo, ma di vitale importanza, nel punto più delicato dello schermo, che può accomodare lo stesso con un raggio di curvatura maggiore.

Questo spazio creato dal meccanismo consente di non creare alcuna grinza o piega quando lo schermo viene piegato, mentre le linguette flessibili consentono di sostenere più saldamente lo schermo quando viene aperto, risolvendo due problemi in uno.
Ovviamente, ricordiamo come sempre che un brevetto approvato non assicura che la tecnologia arriverà realmente sul mercato in un prodotto consumer. Apple è sicuramente interessata allo sviluppo di soluzioni per dispositivi pieghevoli, ma se in nei piani futuri c’è un iPhone con display pieghevole soltanto il tempo potrà dircelo.
Sicuramente, non vedremo alcuna innovazione durante il 2020: la strada per Apple sembra già tracciata, con quattro nuovi iPhone che arriveranno sul mercato, con supporto alla tecnologia 5G mmWave e un design che ricorda quello di iPhone 4s.
I nostri contenuti da non perdere:
- 🔝 Importante: Recensione Amazfit Active 3 Premium: elegante e curato, con un prezzo democratico
- 🚨 Vuoi un notebook gaming serio senza spendere troppo? MSI Cyborg 15 con RTX 5060 è la risposta
- 💰 Risparmia sulla tecnologia: segui Prezzi.Tech su Telegram, il miglior canale di offerte
- 🏡 Seguici anche sul canale Telegram Offerte.Casa per sconti su prodotti di largo consumo

