Intelligenza Artificiale commenti Meta annuncia Llama 2, il modello IA open source in collaborazione con Microsoft 18 Lug 23 - 19:58 Intelligenza Artificiale
Apple TV commenti iOS 16.6, iPadOS 16.6 e macOS 13.5 arrivano la settimana prossima, anticipati dalle RC 18 Lug 23 - 19:48 Apple TV
Auto elettriche commenti L'auto elettrica di Xiaomi dovrebbe montare un pacco batterie enorme 18 Lug 23 - 17:33 Auto elettriche
Auto elettriche commenti Tesla lancia il servizio per ricaricare l'auto con l'energia solare 18 Lug 23 - 16:55 Auto elettriche
iPhone commenti Dubbi sul tasso di soddisfazione dei clienti iPhone dichiarato da Apple 18 Lug 23 - 16:21 iPhone
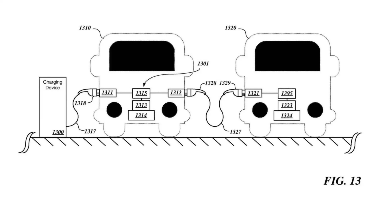
Mobilità Elettrica commenti L'auto come "prolunga" per collegare più veicoli a una sola colonnina 18 Lug 23 - 15:21 Mobilità Elettrica
News commenti Spotify migliora le sessioni di gruppo con i controlli del volume condivisi 18 Lug 23 - 13:50 News
iPad commenti iPadOS 17: novità e informazioni utili ora che c'è la beta pubblica 18 Lug 23 - 13:30 iPad
News commenti DAZN aggiorna i prezzi, lancia l'abbonamento annuale e debutta su tivùsat 18 Lug 23 - 13:07 News