I dispositivi indossabili sono ormai sempre più orientati verso un monitoraggio continuo, preciso e metabolico della nostra salute, e Ultrahuman sembra pronta a muoversi in una direzione che punta a superare le semplici stime software a favore di una misura reale, diretta e contestualizzata. L’ultimo brevetto individuato (US 12.460.969 B2, depositato il 4 novembre) racconta infatti la possibile evoluzione dell’Ultrahuman Ring: un anello intelligente capace di tracciare la produzione di vitamina D grazie a un sensore dedicato ai raggi UVB, superando così app e algoritmi che si affidano al meteo. Una soluzione che, se realmente implementata, potrebbe cambiare in modo significativo le abitudini dei lavoratori indoor, spesso e volentieri alle prese con livelli di vitamina D inferiori al necessario.
Samsung Galaxy S26 Ultra, 512GB
Offerta + sconto di 50€ da applicare in pagina (visibile se loggati)
Ultrahuman pensa a un anello smart con un vero sensore UVB
Il cuore del brevetto è un sensore UVB posizionato direttamente sull’anello e protetto da un filtro che lascia passare solo la banda 290-315 nm, ovvero quella specifica gamma di radiazioni responsabile della sintesi della vitamina D da parte della pelle. Gli attuali indossabili, come alcuni di voi potrebbero aver notato, si basano principalmente sulle condizioni meteo, sulla posizione GPS e sull’indice UV; un metodo comodo ma decisamente impreciso, non sa se siete dietro una finestra, non distingue tra luce diretta e ombra, né è in grado di valutare quanta pelle sia realmente esposta.
L’approccio di Ultrahuman è ovviamente molto più mirato, l’anello infatti, catturando i fotoni che colpiscono direttamente la mano, registra la reale esposizione ai raggi UVB, eliminando ogni supposizione ambientale; in altre parole, se non uscite davvero, non c’è trucco software che tenga.
Il sistema illustrato nel brevetto non si limita a misurare la luce UVB, un microcontrollore dedicato rielabora i dati, pesandoli per intensità, durata e caratteristiche individuali. Qui entra in gioco un elemento cruciale spesso sottovalutato: il tono della pelle, fattore che determina la velocità con cui ciascuno sintetizza la vitamina D. A tal proposito, il documento parla di due modalità: rilevamento automatico (probabilmente tramite fotometria) e inserimento manuale (tramite scale come quella di Fitzpatrick).
L’utente può inoltre indicare la copertura dei vestiti, permettendo al sistema di capire quanta pelle è effettivamente esposta; tanto per fare un esempio, una canottiera e una felpa creano scenari completamente diversi, e l’anello deve tenerne conto per evitare stime fuorvianti. Il risultato? Un dosaggio che riflette la reale capacità del corpo di produrre vitamina D, non una media statistica.

Non manca una funzione anti scottatura che monitora i raggi UVB cumulativi, segnalando quando ci si avvicina al limite quotidiano raccomandato. A differenza dei classici consigli, questo sistema analizza secondo per secondo quanta luce sta ricevendo la pelle, sapendo che il sole estivo a mezzogiorno non ha nulla a che vedere con un pomeriggio autunnale. Una sorta di contatore dinamico che punta a massimizzare i benefici riducendo i rischi, cosa che gli attuali timer o app non possono garantire.
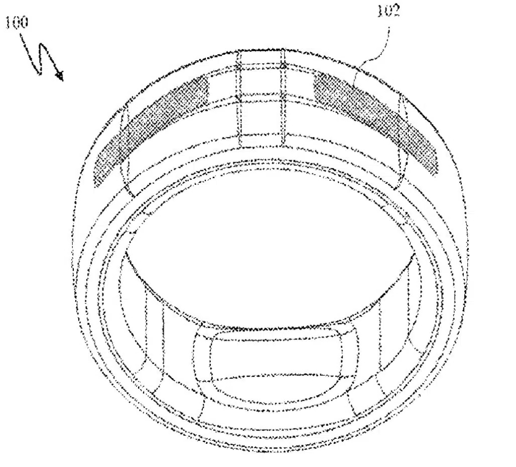
Integrare un sensore UVB in un dispositivo così piccolo non è un’impresa banale, i disegni inclusi nel brevetto mostrano una struttura stratificata:
- guscio esterno metallico come gli anelli Ultrahuman attuali
- segmento centrale con PCB flessibile
- anello interno traslucido, pensato per far passare la luce UV verso il sensore
Quest’area interna, secondo il brevetto, potrebbe ospitare anche il sensore PPG per la frequenza cardiaca, confermando l’approccio tutto in uno del produttore. Compare inoltre una bobina di ricarica wireless, coerente con l’attuale design del Ring Air e del Ring Cylindrical, segno che non ci sarebbe alcun compromesso in termini di impermeabilità e comfort.
Un passaggio interessante del brevetto riguarda i lavoratori indoor, l’azienda sottolinea come molti sistemi attuali segnalino la presenza del sole, senza però verificare se l’utente abbia realmente messo piede all’esterno; qui il concetto si ribalta, il monitoraggio avviene solo se esponi la pelle, una scelta che porta l’utente a uscire consapevolmente, creando un legame diretto tra ambiente, comportamento e stato nutrizionale.
Ultrahuman dispone già della funzione software PowerPlugs che stima l’assunzione di vitamina D, ma qui si va oltre, si tenta di tracciare la luce solare come un macronutriente metabolico, una metrica concreta e non una previsione.
Per quanto non ci siano tempistiche ufficiali relative all’implementazione di quanto appena visto, l’azienda potrebbe avere buoni motivi per accelerare: i recenti problemi di brevetti con Oura rendono necessario un design differenziato, non è dunque chiaro come potrebbe apparire la versione finale, né se questa tecnologia confluirà nel prossimo dispositivo Ultrahuman.
Vale la pena ricordare che, all’inizio dell’anno, Ultrahuman ha depositato anche un brevetto per un anello in grado di monitorare il glucosio; se entrambe queste tecnologie arrivassero davvero sul mercato e se mantenessero per promesse emerse nei documenti tecnici, potremmo essere di fronte alla più grande rivoluzione nel settore degli smart ring degli ultimi anni.
- Ultrahuman aggiorna Home con la misurazione del sonno in base alla qualità dell’aria nella stanza
- Ultrahuman Ring Pro punterà sui pagamenti NFC e un design completamente rivisto
- Ultrahuman sotto pressione legale negli USA: stop alle importazioni del Ring Air
- Ultrahuman si prepara alla sfida dei wearable: in arrivo un bracciale in stile Whoop?
I nostri contenuti da non perdere:
- 🔝 Importante: Sottili e potenti, c’è un notebook per tutti con i nuovi MSI Prestige AI con Intel® Core™ Ultra: guida all’acquisto
- 🚨 I migliori Notebook MSI Prestige, adatti per ogni esigenza
- 💻 La prova di Reolink Home Hub: un sistema di video-sorveglianza in locale, affidabile ed economico
- 💰 Risparmia sulla tecnologia: segui Prezzi.Tech su Telegram, il miglior canale di offerte
- 🏡 Seguici anche sul canale Telegram Offerte.Casa per sconti su prodotti di largo consumo

