Chi utilizza un MacBook Pro quotidianamente sa bene quanto il notch ormai sia parte integrante dell’esperienza d’uso, un elemento estetico che nel corso degli anni è stato accettato, più o meno di buon grado, come necessario compromesso per ospitare la fotocamera anteriore senza intaccare troppo le cornici del display; ma qualcosa, a quanto pare, potrebbe cambiare in modo radicale nel prossimo futuro.
Secondo una recente domanda di brevetto concessa ad Apple, l’azienda di Cupertino starebbe esplorando una soluzione radicalmente diversa per la gestione del comparto fotografico nei suoi laptop, andando ben oltre la semplice miniaturizzazione dei componenti; si parla infatti di moduli fotografici più grandi, removibili, riposizionabili e persino montabili su uno schermo rotante, in un mix tra innovazione hardware e design modulare che segnerebbe un netto cambio di paradigma rispetto a quanto visto finora sui MacBook.
Segui TuttoTech.net su Google Discover
Samsung Galaxy S26 Ultra, 256GB
In omaggio Tab S10 FE+ 5G & Keyboard (da richiedere al ricevimento)
Il brevetto che punta a rivoluzionare il comparto fotografico dei MacBook
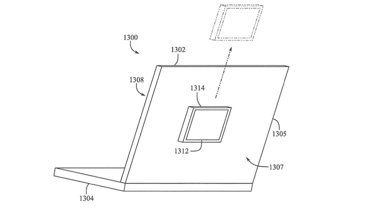
Con il titolo Integrazione della fotocamera per dispositivi elettronici portatili, il brevetto in questione descrive una soluzione che rinuncia alla corsa alla sottigliezza in favore della qualità fotografica, introducendo un modulo ottico più ampio, spesso fino a 3 mm, in grado di sporgere dal coperchio del MacBook.
La vera novità però risiede nella sua modularità e flessibilità d’uso, stando ai disegni allegati il modulo fotocamera può essere fissato frontalmente nella posizione tradizionale (ossia dove oggi si trova il notch), ma anche spostato lateralmente, montato sul retro del display o addirittura rimosso e riposizionato tramite un sistema a magneti; l’elemento viene trattenuto da un cosiddetto componente di ritenzione, che consente il fissaggio temporaneo e l’interazione tra moduli multipli.
Insomma, non più una fotocamera statica, fissa, limitata da vincoli di spazio e collocazione, bensì un sistema dinamico, espandibile e teoricamente capace di offrire anche riprese simultanee da angolazioni diverse; non a caso nei documenti si fa esplicito riferimento alla possibilità che due moduli comunichino tra loro, uno rivolto verso l’utente e uno verso l’esterno, in un meccanismo che ricorda la funzione multi-cam dell’iPhone 11.








Al di là delle fotocamere, c’è un altro aspetto che merita attenzione, il brevetto suggerisce che il display del MacBook Pro potrebbe essere montato su un sistema girevole o addirittura completamente rimovibile, aprendo le porte a una reinterpretazione più ampia del concetto stesso di laptop.
In alcuni schemi infatti si ipotizza un pannello che può essere staccato, ruotato e riagganciato, potenzialmente in modo simile a quanto avviene con alcune soluzioni 2-in-1 nel mondo Windows, ma con l’inconfondibile tocco Apple; l’idea sembra essere quella di offrire massima flessibilità nella configurazione del dispositivo, sia in termini di visibilità e orientamento dello schermo, sia per sfruttare al meglio le fotocamere modulari.
Un MacBook con moduli fotografici removibili e display orientabile potrebbe rappresentare un’ottima soluzione per chi lavora con contenuti multimediali, come videomaker, giornalisti o creatori digitali che necessitano di inquadrare persone e soggetti da prospettive diverse, magari in tempo reale. Si potrebbe pensare, per esempio, a un’intervista registrata direttamente con un MacBook, con la fotocamera frontale rivolta all’intervistatore e quella posteriore al soggetto intervistato.
Oppure, grazie alla rotazione dello schermo, l’utente potrebbe scegliere di utilizzare il modulo fotografico posteriore per scattare foto e registrare video con il display rivolto verso di sé, quasi come se fosse un tablet.
Come sempre quando si parla di brevetti, è importante ricordare che non tutti diventano prodotti reali, spesso si tratta di studi preliminari, proof of concept o semplici segnaposto depositati per proteggere una specifica idea tecnica; tuttavia, il fatto che questa sia una riedizione di un brevetto già registrato e rinnovato un paio di anni fa, lascia intendere che il concetto, per quanto ambizioso, è tutt’altro che abbandonato.
Il notch sui MacBook potrebbe quindi diventare solo un ricordo, ma la sua eredità verrebbe raccolta da qualcosa di ben più potente e flessibile, moduli fotografici intelligenti, removibili, posizionabili dove serve e capaci di adattarsi alle esigenze dell’utente; il tutto abbinato a un display orientabile che potrebbe spingere i MacBook verso una nuova era di interazione e creatività.
I nostri contenuti da non perdere:
- 🔝 Importante: Zepp OS 6 in arrivo a maggio e Amazfit prepara altri aggiornamenti
- 🚨 Vuoi un notebook gaming serio senza spendere troppo? MSI Cyborg 15 con RTX 5060 è la risposta
- 💰 Risparmia sulla tecnologia: segui Prezzi.Tech su Telegram, il miglior canale di offerte
- 🏡 Seguici anche sul canale Telegram Offerte.Casa per sconti su prodotti di largo consumo

