Apple ha presentato un nuovo brevetto riguardante una presa intelligente che reagisce alla presenza delle persone, integrando insieme gruppi di sensori e luci che possono essere controllati da un singolo pulsante o presa di corrente smart. Il brevetto è stato presentato a marzo, ma reso pubblico solo alla fine di settembre, e mostra la visione di Apple per i prodotti smart home.
Finora, almeno a giudicare dai prodotti dell’azienda per la smart home, la domotica non è il punto forte di Apple. Se eliminiamo HomePod, lo speaker intelligente sviluppato dalla casa, non vi è nulla che mostri l’impegno della società di Cupertino per la smart home del futuro. La piattaforma Apple HomeKit c’è, così come il supporto hardware di aziende di terze parti, ma ora sappiamo che in futuro ci saranno anche prodotti.
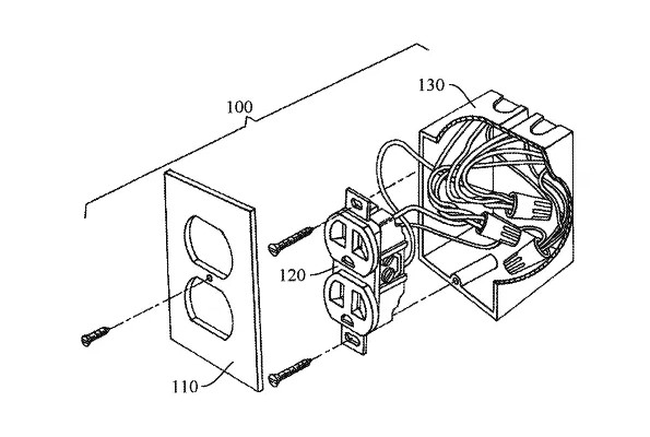
Presa intelligente Apple: saprà sempre la nostra posizione
Nel brevetto viene descritta un ‘Modular Wall Unit System‘, un sistema modulare da muro che può configurarsi come switch o presa intelligente. La particolarità rispetto ai prodotti disponibili sul mercato risiede nella capacità di queste unità di dialogare tra di loro e altri prodotti Apple utilizzando tecnologie come il radar, gli ultrasuoni o Ultra Wideband (UWB). Proprio quest’ultima è la stessa utilizzata nei chip U1 dei nuovi iPhone 11, che consente la localizzazione precisa a corto raggio.
L’idea è quella di mettere in perenne comunicazione i sensori da parete, come prese e switch, con prodotti quali iPhone e Apple Watch. In questo modo è possibile stabilire in modo preciso la posizione di un utente ed attivare in modo intelligente solo determinati gruppi di sensori e/o luci, o cambiando totalmente l’interazione possibile a seconda del movimento degli utenti.
Come sempre, teniamo in considerazione che Apple presenta centinaia di brevetti ogni mese. Spesso le grandi aziende lo fanno solo per assicurarsi i diritti su un tipo di tecnologia che potrebbe, oppure no, diventare un prodotto vero e proprio.
Non sappiamo se in futuro avremo a casa delle prese intelligenti Apple, o degli switch smart che cambiano funzione a seconda della nostra posizione. Quel che è certo è che questo tipo di brevetti mostrano almeno come Apple sia interessata ad entrare nelle nostre case, e non solo con speaker smart come l’HomePod.
I nostri contenuti da non perdere:
- 🔝 Importante: Xiaomi Smart Band 9 Pro: il wearable che sfida gli smartwatch arriva al suo prezzo minimo
- 🚨 Vuoi un notebook gaming serio senza spendere troppo? MSI Cyborg 15 con RTX 5060 è la risposta
- 💰 Risparmia sulla tecnologia: segui Prezzi.Tech su Telegram, il miglior canale di offerte
- 🏡 Seguici anche sul canale Telegram Offerte.Casa per sconti su prodotti di largo consumo



