Nel corso degli ultimi anni abbiamo visto i dispositivi indossabili evolversi in maniera piuttosto significativa, passando da semplici contapassi a veri e propri strumenti di monitoraggio della salute, eppure, tra i parametri più complessi da rilevare in modo preciso e continuativo, la pressione sanguigna rappresenta ancora oggi una sorta di Sacro Graal per il settore. Proprio in questo contesto si inserisce un nuovo brevetto firmato Fitbit, che lascia intravedere un possibile cambio di approccio rispetto a quanto visto finora.
Secondo quanto emerso, il documento, concesso il 7 aprile dall’ufficio brevetti statunitense, descrive un sistema che potrebbe consentire la misurazione della pressione sanguigna direttamente dal polso, ma con una filosofia d’uso decisamente diversa rispetto ai tentativi più passivi a cui molti di voi saranno ormai abituati.
Samsung Galaxy S26 Ultra, 1TB
Galaxy Watch8 LTE è in regalo (da richiedere dopo l'acquisto)
Fitbit studia un approccio più controllato alla misurazione della pressione sanguigna
Entrando nel dettaglio, ciò che colpisce maggiormente è proprio l’idea alla base di questo brevetto: niente misurazione costante in background, ma controlli puntuali avviati manualmente dall’utente, un po’ come già accade, per esempio, con le funzioni ECG sugli smartwatch più avanzati.
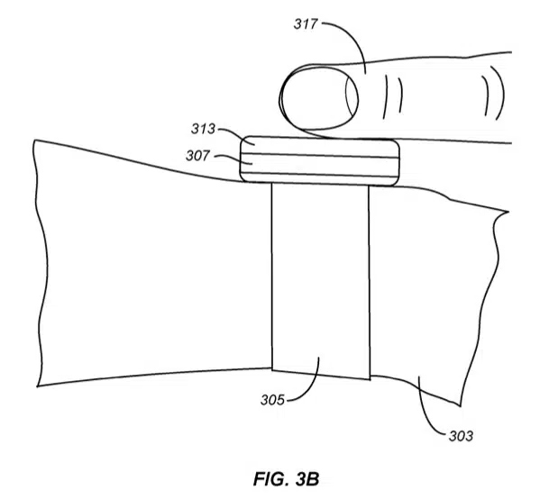
L’utente indossa normalmente il dispositivo e, nel momento in cui desidera effettuare una rilevazione, avvia la procedura e posiziona un dito sulla parte superiore del wearable. Questo gesto, apparentemente semplice ma tutt’altro che banale, consente al sistema di aumentare la pressione esercitata sul polso, introducendo una variabile fondamentale per la misurazione.
A quel punto, il dispositivo entra in azione combinando due elementi chiave: da una parte il classico sensore ottico per il rilevamento del battito cardiaco, dall’altra un sensore di forza dedicato; il software analizza quindi come varia l’ampiezza dell’onda del polso al variare della pressione applicata, sfruttando questa relazione per stimare la pressione sanguigna.


Come molti di voi probabilmente sanno, gran parte delle soluzioni attuali si basa su stime indirette, come il tempo di transito dell’onda di polso e modelli che richiedono calibrazioni iniziali (che possono perdere precisione nel tempo); il sistema immaginato da Fitbit invece, punta su un controllo più guidato e replicabile, in cui la forza applicata è nota e gestita.
Questo potrebbe tradursi, almeno sulla carta, in misurazioni più stabili e coerenti nell’uso quotidiano, anche se ovviamente sarà fondamentale capire come, e se, questa tecnologia verrà implementata in un prodotto reale. È piuttosto evidente inoltre, che una soluzione di questo tipo si presterebbe più a controlli occasionali che a un monitoraggio continuo durante tutta la giornata; un approccio che, se vogliamo, strizza l’occhio a un utilizzo più consapevole del dato, piuttosto che a una raccolta passiva e costante.
La comparsa di questo brevetto arriva in un momento particolarmente interessante per Fitbit (e più in generale per l’ecosistema Google), sopratutto alla luce dei recenti segnali che indicano una crescente attenzione verso salute, recupero e benessere.
Non è dunque da escludere che una funzione di questo tipo possa, in futuro, trovare spazio su dispositivi come Pixel Watch oppure su una nuova generazione di fitness tracker, anche se in questi casi è sempre meglio mantenere una certa cautela. Il fatto che esista un brevetto infatti non implica necessariamente un arrivo sul mercato, le aziende depositano spesso soluzioni che rimangono allo stadio sperimentale o che vengono utilizzate solo come base per sviluppi futuri.
Ciò che rende questo brevetto particolarmente interessante tuttavia, è la sua natura tutt’altro che teorica; a differenza di molte altre proposte viste in passato, qui troviamo un metodo d’uso chiaro, comprensibile e, almeno sulla carta, replicabile nella vita di tutti i giorni. Se Fitbit dovesse davvero riuscire a portare questa tecnologia su un dispositivo commerciale, potremmo trovarci di fronte a una delle evoluzioni più rilevanti nel campo del monitoraggio della salute da polso.
- Google introduce 3 nuove funzioni per il personal health coach di Fitbit
- AI e salute, le ultime novità di Withings (che parla con Claude) e Fitbit aprono scenari inediti
- Sempre più utenti possono provare Personal Health Coach di Fitbit
- I fondatori di Fitbit lanciano Luffu, una piattaforma AI per monitorare la salute di tutta la famiglia
I nostri contenuti da non perdere:
- 🔝 Importante: Garmin CIRQA, Fenix 9 e un nuovo inedito dispositivo dovrebbero arrivare nel 2026
- 🚨 Vuoi un notebook gaming serio senza spendere troppo? MSI Cyborg 15 con RTX 5060 è la risposta
- 💰 Risparmia sulla tecnologia: segui Prezzi.Tech su Telegram, il miglior canale di offerte
- 🏡 Seguici anche sul canale Telegram Offerte.Casa per sconti su prodotti di largo consumo

