Tesla guarda ancora una volta oltre i confini della mobilità elettrica tradizionale e lo fa puntando direttamente al cielo. Un recente brevetto depositato dall’azienda di Elon Musk suggerisce infatti un possibile futuro in cui i veicoli elettrici Tesla potrebbero integrare la connettività satellitare Starlink, consentendo l’accesso alla rete anche in aree remote, dove le reti cellulari risultano assenti o fortemente limitate.
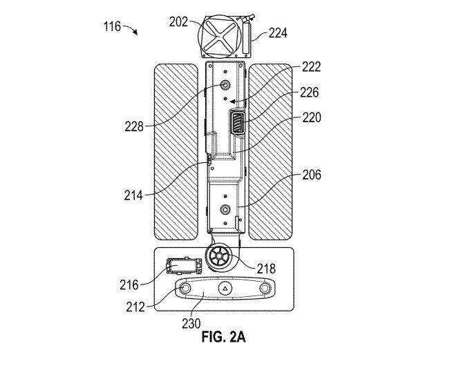
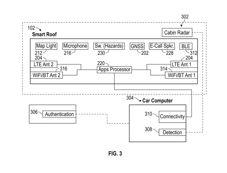
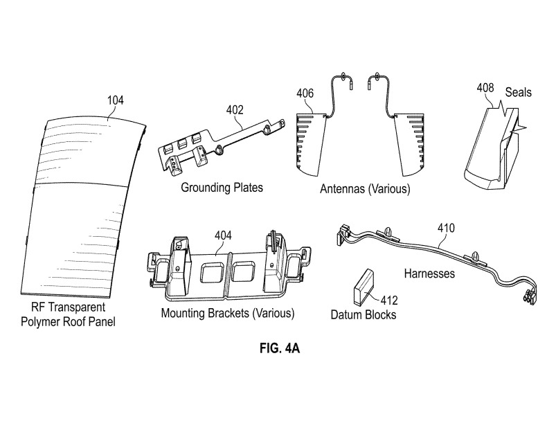
L’idea ruota attorno a un elemento apparentemente semplice ma in realtà decisamente complesso: il tetto dell’auto. Tesla ha brevettato l’utilizzo di materiali trasparenti alle radiofrequenze (RF), capaci di permettere il passaggio di segnali satellitari senza interferenze tipicamente causate da metallo e vetro, materiali oggi largamente utilizzati nella costruzione dei veicoli.
Un tetto trasparente per connettere le Tesla con Starlink
Nel brevetto, identificato come US 2025/0368267, Tesla descrive l’impiego di miscele di polimeri come policarbonato, acrilonitrile-butadiene-stirene e acrilonitrile-stirene-acrilato; si tratta di materiali che, rispetto alle superfici tradizionali, presentano una maggiore capacità di trasmissione delle radiofrequenze, caratteristica fondamentale per una comunicazione diretta con satelliti e altri dispositivi di comunicazione esterni.
Come specificato direttamente nella comunicazione, l’obbiettivo è consentire la trasmissione RF da e verso i moduli del veicolo, rendendo possibile la comunicazione satellitare sia dall’interno che dall’esterno dell’auto. Un approccio che, almeno sulla carta, potrebbe eliminare la necessità di antenne esterne ingombranti o soluzioni aggiuntive visivamente invasive.
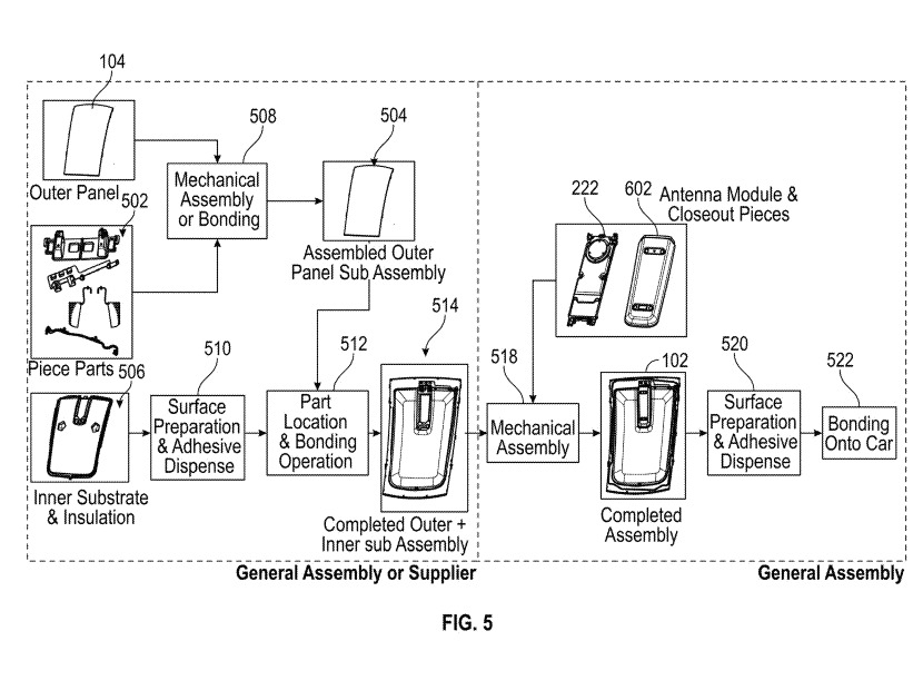
Ovviamente, l’adozione di questi materiali non è priva di criticità, polimeri di questo tipo infatti possono presentare limiti strutturali rispetto a vetro e metallo, soprattutto in termini di rigidità e resistenza; Tesla sembra però aver già previsto questo ostacolo, proponendo una struttura multistrato, potenzialmente composta da quattro livelli distinti.
Questa costruzione avrebbe il duplice obbiettivo di ripristinare la rigidità strutturale del tetto e migliorare al tempo stesso parametri fondamentali come rumore, vibrazioni e durezza (NVH), aspetti particolarmente importanti su veicoli elettrici, dove l’assenza del rumore del motore rende più percepibili le imperfezioni acustiche.




















Il collegamento con Starlink appare tutt’altro che casuale, la rete satellitare fa capo a SpaceX, altra azienda guidata da Musk, e rappresenta uno dei tasselli più importanti del suo ecosistema tecnologico. L’integrazione diretta di Starlink nei veicoli Tesla potrebbe dunque rafforzare ulteriormente questa visione unificata, aprendo scenari interessanti soprattutto per modelli di grande diffusione come Model 3 e Model Y.
In teoria, una soluzione di questo tipo consentirebbe alle auto Tesla di rimanere connesse anche in zone rurali, desertiche o montuose, dove oggi persino le migliori reti LTE o 5G faticano ad arrivare; un vantaggio non da poco, soprattutto in prospettiva di funzioni avanzate di navigazione, aggiornamenti software e servizi digitali sempre più centrali nell’esperienza d’uso del veicolo.
Attualmente, Tesla offre due livelli di connettività: quella Standard che include la navigazione e funzioni di base spesso accessibili tramite Wi-Fi, e quella Premium, disponibile negli Stati Uniti a 9,99 dollari al mese, che abilita servizi come traffico in tempo reale e streaming su rete cellulare.
L’eventuale integrazione con Starlink rappresenterebbe un cambio di paradigma, andando ben oltre le classiche soluzioni basate su reti mobili terrestri e differenziando Tesla dalla maggior parte delle altre case automobilistiche, che per la connettività satellitare si affidano solitamente a fornitori terzi.
È bene sottolineare che, per il momento, si tratta solo di un brevetto, e non vi è alcuna garanzia che questa tecnologia arrivi effettivamente sulla produzione di serie; tuttavia, se Tesla riuscisse a trasformare questo concept in una soluzione concreta e affidabile, potrebbe rafforzare ulteriormente la propria immagine di pioniere tecnologico, affiancando questa innovazione ad altre già introdotte.
Resta però il nodo dell’esecuzione, l’adozione di nuovi materiali e metodi costruttivi comporta rischi, soprattutto sul fronte della qualità costruttiva, un ambito in cui Tesla è stata spesso criticata in passato. Proprio per questo, l’eventuale debutto di una soluzione così ambiziosa richiederà un equilibrio particolarmente delicato tra innovazione, affidabilità e costi.
- Tesla Robotaxi, ad Austin arriva la guida autonoma senza conducente
- Tesla introduce “Charging Passport” e trasforma la ricarica in un’esperienza ludica con medaglie e statistiche
- Tesla, l’FSD torna nel mirino della NHTSA: oltre 80 possibili violazioni
- Tesla FSD v14.2.1 permette di inviare messaggi mentre si guida (a seconda del contesto)
I nostri contenuti da non perdere:
- 🔝 Importante: Recensione ASUS ExpertBook Ultra: la vera sorpresa tra i notebook con Intel Core Panther Lake
- 🚨 I migliori Notebook MSI Prestige, adatti per ogni esigenza
- 💻 La prova di Reolink Home Hub: un sistema di video-sorveglianza in locale, affidabile ed economico
- 💰 Risparmia sulla tecnologia: segui Prezzi.Tech su Telegram, il miglior canale di offerte
- 🏡 Seguici anche sul canale Telegram Offerte.Casa per sconti su prodotti di largo consumo

