Huawei continua a investire nel settore della realtà aumentata e virtuale, ambito dove da tempo cerca di ampliare la propria strategia di innovazione nel campo dei dispositivi indossabili. A conferma di quanto detto, un recente brevetto pubblicato presso l’Ufficio Nazionale Cinese della Proprietà Intellettuale (CNIPA, numero CN120871434A) rivela un inedito progetto di occhiali smart dotati di un controller rimovibile capace di trasformarsi in un anello smart.
Questa soluzione, almeno di primo acchito, punta a rivedere l’interazione dell’utente col dispositivo, combinando comodità d’uso, precisione e design compatto. In sostanza, l’idea dell’azienda unisce due dispositivi in uno e si inserisce nel percorso di Huawei verso la costruzione di un ecosistema tecnologico integrato, dove l’esperienza AR e VR si fonde con l’uso quotidiano.
Il brevetto, firmato dai ricercatori Chen Qi e Yang Linlin, evidenzia quello che è sostanzialmente un sistema modulare che potrebbe semplificare il controllo dei contenuti virtuali e migliorare l’ergonomia degli attuali visori intelligenti. Ma vediamo insieme qualche dettaglio in più.
Huawei e gli occhiali AR/VR modulari
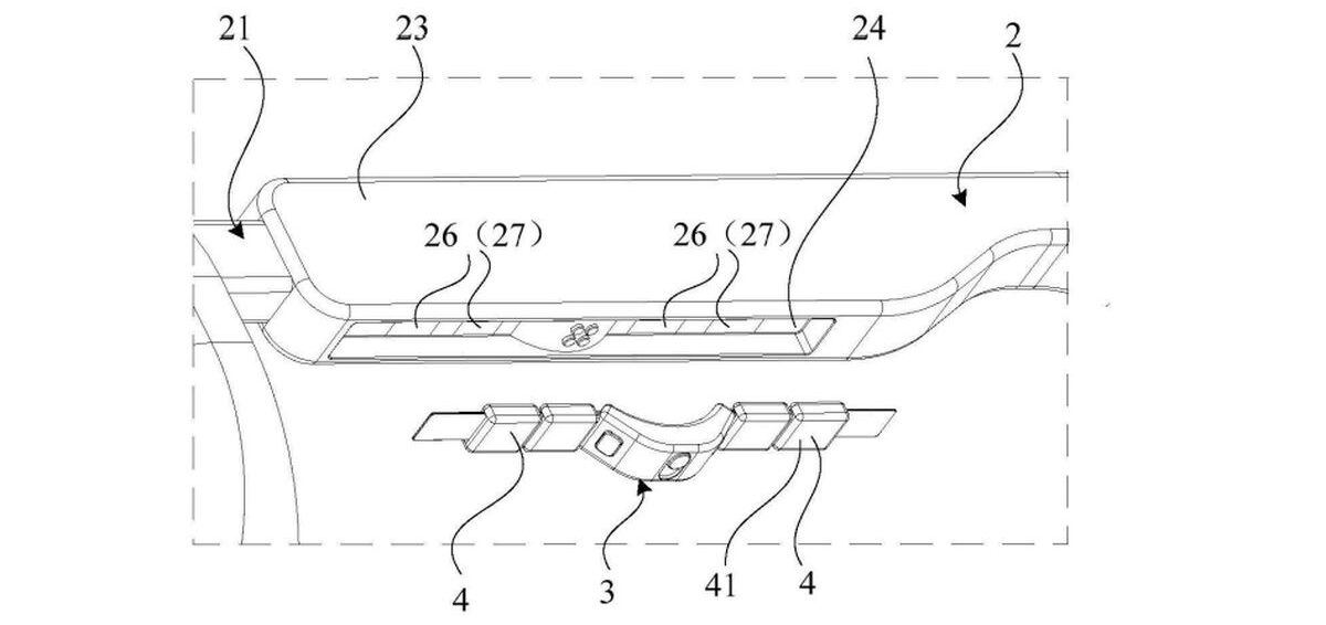
La documentazione del brevetto in questione descrive in dettaglio un paio di occhiali smart con una fascia flessibile integrata nel telaio, pensata per essere staccata e indossata come un anello al dito. Una volta separata, questa fascia diventa un vero e proprio controller multifunzione, dotato di sensori per il riconoscimento dei gesti, del movimento e delle interazioni tattili.
In questa configurazione, l’utente può gestire applicazioni di realtà aumentata, giochi in AR e ambienti virtuali immersivi, sfruttando movimenti intuitivi come lo scorrimento, il puntamento o la selezione.

Quando invece il controller viene riagganciato alla montatura, si trasforma in una superficie di comando piuttosto semplice, permettendo tap e swipe per navigare tra menu o controllare la riproduzione multimediale. Il sistema integra inoltre un meccanismo di ricarica automatica che ricarica la batteria dell’anello quando è collegato agli occhiali, eliminando così la necessità di cavi o basi dedicate.
Analizzando design e funzionalità, pare che Huawei punti a bilanciare due tipologie di utilizzo, da un lato esperienze come il gaming o il lavoro in ambienti virtuali, dall’altro funzioni più leggere, come la consultazione di contenuti o la fruizione di video.

Dal punto di vista tecnico, il brevetto prevede l’integrazione di sensori inerziali ad alta precisione, aree touch-sensitive e pulsanti meccanici, progettati per offrire un feedback tattile immediato. Questi elementi permettono al dispositivo di interpretare gesti complessi e rispondere in modo fluido ai movimenti dell’utente, teoricamente con una latenza minima.
Il collegamento tra occhiali e anello avviene tramite magneti di allineamento e connessione wireless, garantendo una connessione stabile e un’esperienza d’uso continua. Altro elemento da segnalare è la struttura modulare, ovvero dove ogni componente può essere sostituito o aggiornato senza compromettere il dispositivo.

Il design è pensato per garantire una buona ergonomia e favorire la portabilità, cercando anche di proteggere al meglio il controller quando l’anello non è in uso. In conclusione, almeno dalle prime immagini e informazioni, sembra chiaro che Huawei voglia puntare a un prodotto che possa essere indossato come un normale paio di occhiali ma che, all’occorrenza, può trasformarsi in un hub di controllo per un’esperienze più avanzata.
Al momento l’azienda non ha rilasciato dichiarazioni ufficiali o dettagli tecnici riguardo al progresso di questo brevetto, l’idea però ci sembra piuttosto valida e non escludiamo che possa passare a una successiva fase di sviluppo.
- Migliori notebook Huawei di Novembre 2025: ecco i nostri consigli
- HUAWEI Watch Ultimate 2 arriva in Italia con una super promo lancio
- Meta presenta tre nuovi occhiali smart con intelligenza artificiale al Meta Connect 2025
- Quali funzioni avranno gli occhiali intelligenti di Apple? Ecco le prime ipotesi
I nostri contenuti da non perdere:
- 🔝 Importante: Recensione Apple MacBook Neo: non c'è nessun miracolo ma spaccherà comunque il mercato
- 🚨 I migliori Notebook MSI Prestige, adatti per ogni esigenza
- 💻 La prova di Reolink Home Hub: un sistema di video-sorveglianza in locale, affidabile ed economico
- 💰 Risparmia sulla tecnologia: segui Prezzi.Tech su Telegram, il miglior canale di offerte
- 🏡 Seguici anche sul canale Telegram Offerte.Casa per sconti su prodotti di largo consumo

