Un nuovo brevetto ottenuto da Apple all’inizio di questo mese dall’ufficio brevetti e marchi degli Stati Uniti (USPTO) rivela che il colosso di Cupertino sta lavorando a un particolare Apple Watch con fotocamera integrata.
La documentazione parla di uno “smartwatch con meccanismo di rilascio” e descrive una soluzione che consente agli utenti di Apple Watch di utilizzare una fotocamera situata nella parte inferiore del dispositivo.
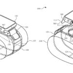
Il brevetto prevede uno speciale cinturino con una funzione di sgancio rapido che consentirebbe di scollegare facilmente il corpo dello smartwatch per offrire all’utente la possibilità di scattare foto e video con la fotocamera posteriore integrata e e successivamente ricollocare saldamente il corpo dello smartwatch nella base del cinturino.


Il brevetto spiega che lo smartwatch si aggancerebbe alla base del cinturino utilizzando un meccanismo simile a un attacco o un magnete che consentirebbe di rimuovere il corpo del dispositivo indossabile senza la necessità di togliere l’intero cinturino dal polso.
Apple brevetta uno smartwatch con fotocamera integrata
Apple offre già l’accessorio Wristcam, un cinturino per gli Apple Watch dalla serie 3 alla serie 8, i modelli SE e l’Ultra che integra due fotocamere, una rivolta verso l’utente per i selfie e l’altra rivolta verso il mondo.
Trattandosi di un brevetto non è detto che questo presunto Apple Watch con fotocamera raggiungerà gli scaffali, ma almeno testimonia che l’azienda di Cupertino non esclude un’idea del genere.
Da non perdere: Migliori smartwatch con e senza Wear OS | Febbraio 2023
I nostri contenuti da non perdere:
- 🔝 Importante: Recensione CMF Watch 3 Pro: costa poco ma vale ogni centesimo
- 💻 Scegli bene e punta al sodo: ecco le migliori offerte MSI notebook business Black Friday 2025
- 💰 Risparmia sulla tecnologia: segui Prezzi.Tech su Telegram, il miglior canale di offerte
- 🏡 Seguici anche sul canale Telegram Offerte.Casa per sconti su prodotti di largo consumo

