Sappiamo bene che la tecnologia del 3D Touch non ha più futuro, con Apple che ha deciso di rimuoverla dal nuovo Apple iPhone XI (rimarrà comunque supportata da iOS 13 per i modelli precedenti che lo hanno). Ebbene, invece che cambiare direzione del tutto, Apple si prepara a fare un salto di qualità in avanti. Il colosso di Cupertino infatti ha appena brevettato una tecnologia di “display tattile deformabile“.
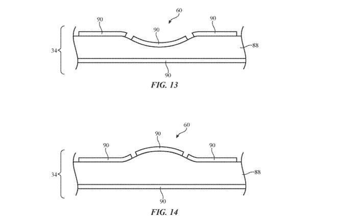
La descrizione del brevetto non scende nel dettaglio ma, in linea generale, dovrebbe trattarsi di una tecnologia che aggiunge sezioni in alto e in basso per per indicare all’utente dove si trovano alcuni tasti o altri elementi, senza dover guardare direttamente. In altre parole, il display si deforma fisicamente grazie a strutture polimeriche elettroattive e attuatori elettromagnetici, facendo apparire e scomparire i tasti.
Questa soluzione potrebbe essere adottata anche in sostituzione dei tasti fisici presenti al momento sugli iPhone e nemici giurati dell’ex capo design Jony Ive che avrebbe preferito avere uno smartphone “all digital” e senza alcun pulsante fisico.
Come detto prima, la descrizione del brevetto non scende nel dettaglio (anche perché immaginiamo che la tecnologia non sia ancora pronta) ma è possibile che il funzionamento alla base di questo display tattile deformabile sia uno strato di perni mobili che, in abbinata a elettrodi e al software di gestione, potrebbero intervenire per comprimere e decomprimere elementi deformabili e creare aree in rilievo.
Al momento non si fa nemmeno riferimento a che tipo di display sarebbe possibile adottare questa tecnologia, anche se immaginiamo gli schermi LCD sono fuori questione (sono desinati a scomparire dagli iPhone nel 2020). Non è da escludere quindi che potrebbe esserci un’abbinata microLED e display tattile.
I nostri contenuti da non perdere:
- 🔝 Importante: Recensione CMF Watch 3 Pro: costa poco ma vale ogni centesimo
- 💻 Scegli bene e punta al sodo: ecco le migliori offerte MSI notebook business Black Friday 2025
- 💰 Risparmia sulla tecnologia: segui Prezzi.Tech su Telegram, il miglior canale di offerte
- 🏡 Seguici anche sul canale Telegram Offerte.Casa per sconti su prodotti di largo consumo

