Auto commenti Opel Corsa full-electric ufficiale con motore da 136 CV e autonomia di 330 KM 24 Mag 19 - 16:22 Auto
TV & Streaming commenti Su Sky si festeggia #SkyMilan89, la vittoria della Coppa dei Campioni del 1989 24 Mag 19 - 16:07 TV & Streaming
Telefonia commenti Nuovi dettagli (positivi e negativi) sulle fotocamere di iPhone 11 e su iOS 24 Mag 19 - 16:07 Telefonia
Serie TV commenti Le serie TV di Infinity TV a giugno 2019 fra cui Deception, Splitting Up Together e Suits 8 24 Mag 19 - 12:57 Serie TV
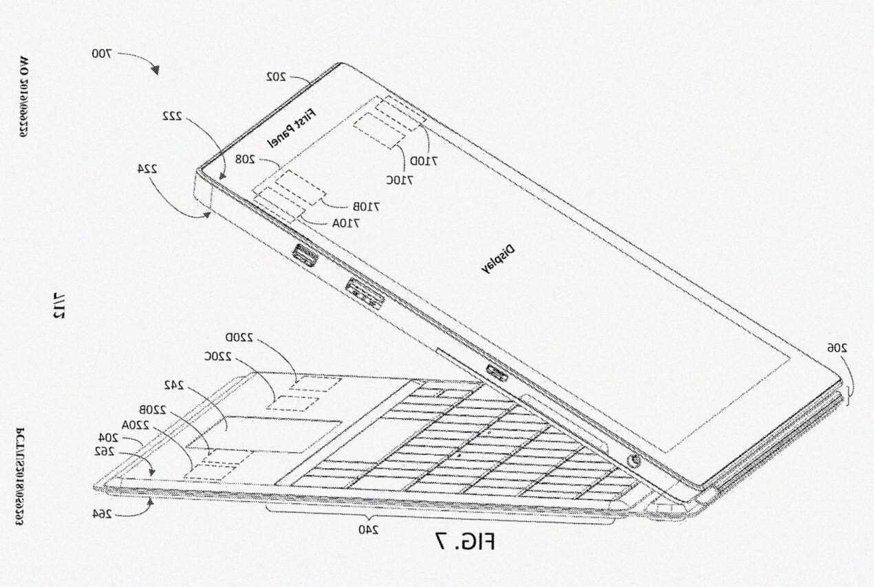
Computer commenti Il Surface Pro 7 di Microsoft avrà un USB Type-C e una nuova Type Cover 24 Mag 19 - 12:57 Computer
Offerte commenti Monopattini elettrici, smartphone Huawei, notebook HP ed ebook Kindle fra le migliori offerte Amazon del 24 maggio 24 Mag 19 - 08:27 Offerte
Film commenti Il grande ritorno di Sarah Connors nel video trailer di Terminator: Dark Fate 23 Mag 19 - 22:47 Film
Telefonia commenti Amazon pronta al lancio di uno smartwatch Alexa "che sa leggere le emozioni" 23 Mag 19 - 13:11 Telefonia
Cultura Tech commenti L'intelligenza artificiale di Samsung sa creare un avatar animato da una singola foto 23 Mag 19 - 12:17 Cultura Tech
iPhone commenti iPhone XI, XI Max e XR 2019 fanno la loro apparizione nel database della Eurasian Economic Commission 23 Mag 19 - 12:10 iPhone