Nonostante i dispositivi Surface Pro di Microsoft siano stati i più apprezzati negli ultimi anni in quanto ad innovazione, in molti hanno criticato la scelta progettuale di utilizzare una Mini DisplayPort di vecchia generazione al posto di una più versatile e innovativa USB Type-C. Microsoft si è sempre giustificata indicando la non maturità del nuovo connettore ma sembra che col Surface Pro 7 vi sarà finalmente la sua implementazione.
Stando a un nuovo brevetto registrato da Microsoft, il nuovo Surface Pro 7 potrebbe essere dotato non solo di una USB Type-C (non in sostituzione della Mini DisplayPort seppur dovrebbe tornare utile sia per la gestione dei flussi video che per la veicolazione dei dati e della ricarica) ma anche di una Type Cover di nuova generazione.
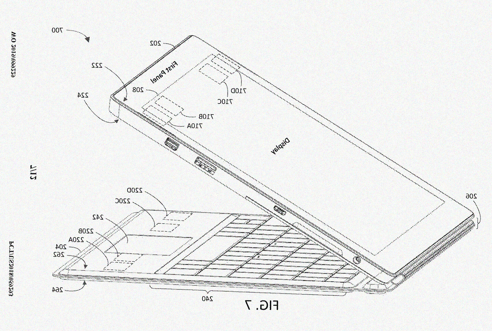
La parte più interessante di queste immagini del brevetto è che non esiste più un Surface Connect su questo particolare dispositivo. Ciò potrebbe suggerire che Microsoft si stia preparando a sostituire il suo caricatore magnetico per spingere verso la ricarica USB Type-C.
Per quanto riguarda la tastiera, abbiamo visto in passato un brevetto che suggerisce lo sviluppo di una tastiera Surface più sottile, e ora ne è apparso uno che mostra il possibile Surface Pro 7 con una tastiera di nuova generazione.
Il nuovo brevetto spiega come Microsoft prevede di utilizzare i magneti per evitare che la Type Cover rimanga poco stabile quando non è in uso. Al momento, quando si piega la tastiera sotto il dispositivo per utilizzarlo come un tablet, viene tenuta in posizione semplicemente dalle dita. Microsoft sta proponendo di tenere la Cover Type in posizione sotto il dispositivo con dei magneti. Presumibilmente, ciò funzionerebbe anche quando Surface Pro è chiuso nella direzione opposta in modo che non possa facilmente aprirsi in una borsa.
In linea generale, non è da escludere che questo presunto Surface Pro 7 possa rappresentare il primo modello in assoluto a equipaggiare un SoC Qualcomm e il sistema operativo Windows on ARM.
I nostri contenuti da non perdere:
- 🔝 Importante: Aspettiamoci cambiamenti importanti per iPhone 18 e iPhone 18 Pro
- 🚨 Vuoi un notebook gaming serio senza spendere troppo? MSI Cyborg 15 con RTX 5060 è la risposta
- 💰 Risparmia sulla tecnologia: segui Prezzi.Tech su Telegram, il miglior canale di offerte
- 🏡 Seguici anche sul canale Telegram Offerte.Casa per sconti su prodotti di largo consumo

