I dispositivi AR di Apple come “Apple Glass” potrebbero essere dotati di un sistema di raffreddamento per mantenere chi li indossa a proprio agio e, al tempo stesso, riuscire a regolare minuziosamente gli ambienti per farli sembrare naturali.
Due nuovi brevetti, infatti, non fanno altro che mettere in risalto la grande attenzione prestata dal colosso di Cupertino anche per i più piccoli particolari.
4 x Xiaomi Smart Tag
Smart Tracker, compatibile con Apple Find My e Google Android Find Hub
Apple Glass potrebbero avere feature uniche
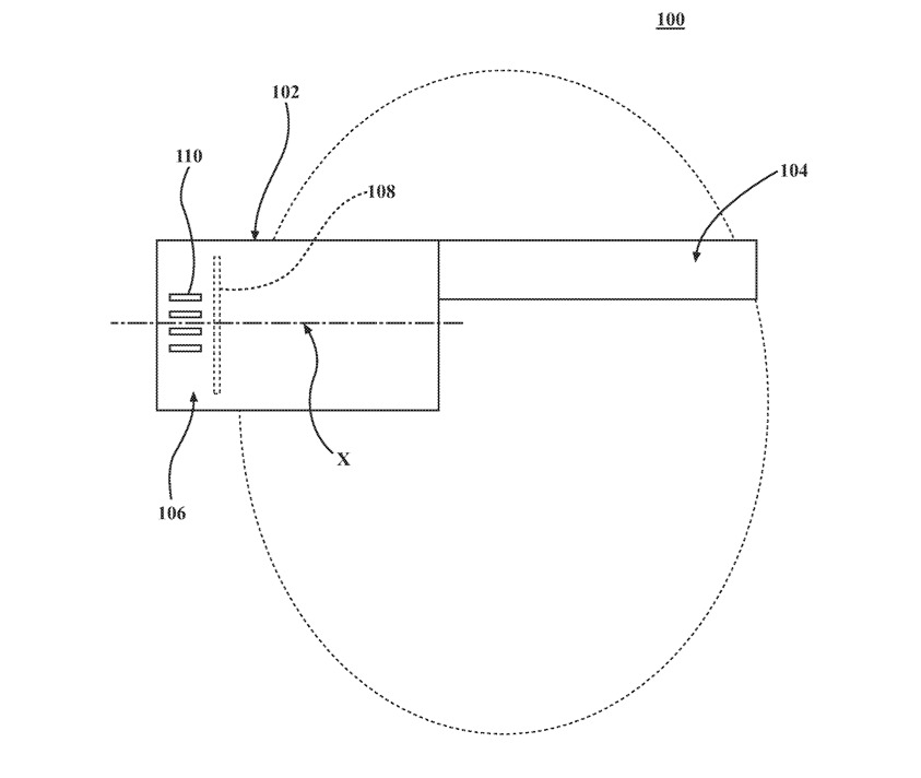
Il primo riguarda un aspetto che nella vita reale probabilmente passerebbe inosservato ma che un’esperienza AR può invece offrire: si pensi all’audio ad un concerto, variabile a seconda della posizione occupata nel locale in cui si svolge e degli ostacoli situati nei pressi, variabili che il sistema ideato da Apple è in grado di rilevare e rielaborare, così da offrire all’utente un’esperienza immersiva e reale, il tutto senza latenza per i tempi necessari all’operazione (nota come quantizzazione).
Le soluzioni proposte da Apple sono tutte per display montati sulla testa (HMD) e si occupano dell’audio stesso e della posizione fisica di chi lo indossa. Il brevetto non solo descrive il rilevamento della posizione di chi lo indossa per alterare il suono ma include anche quando il suono viene creato da chi lo indossa.
Un’apparecchiatura di questo tipo ha bisogno di una grande capacità di elaborazione e, pertanto, potrebbe generare grande calore ed è qui che entra in gioco il secondo brevetto: il suo obiettivo è sia garantire la durata nel tempo dei pannelli OLED (che con il calore possono degradarsi più rapidamente) che rendere piacevole l’esperienza di chi indossa il device.
Spesso per gestire il calore vengono implementati componenti aggiuntivi che, però, appesantiscono il dispositivo e rendono più complesso il sistema. La soluzione studiata da Apple prevede invece l’integrazione di tali componenti di gestione del calore nella stessa struttura del device, aumentando la conduttività termica.
Per ulteriori informazioni su tali brevetti vi rimandiamo alle pagine dedicate qui e qui.
Ricordiamo che Apple Glass dovrebbero essere lanciati nel corso del prossimo anno. Staremo a vedere.
I nostri contenuti da non perdere:
- 🔝 Importante: MediaWorld festeggia la Pasqua con gli App Days: 15% di sconto oggi e domani
- 🚨 Vuoi un notebook gaming serio senza spendere troppo? MSI Cyborg 15 con RTX 5060 è la risposta
- 💰 Risparmia sulla tecnologia: segui Prezzi.Tech su Telegram, il miglior canale di offerte
- 🏡 Seguici anche sul canale Telegram Offerte.Casa per sconti su prodotti di largo consumo



