Si vocifera da tempo che Apple stia studiando dei modi per misurare la pressione sanguigna tramite Apple Watch, ma solitamente il colosso di Cupertino rilascia una tecnologia quando è convinto che sia migliore di quelle esistenti, come quelle di Huawei e Samsung.
Ora è emerso un nuovo brevetto di Apple che descrive un nuovo modo di misurare la pressione sanguigna attraverso uno smartwatch.
Novità! DREAME L10s Ultra Gen 3
Kit Robot Aspirapolvere e Lavapavimenti, Aspirazione da 25.000 Pa, Spazzola
I futuri Apple Watch potrebbero misurare la pressione sanguigna in modo innovativo
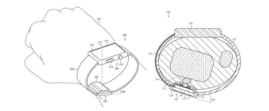
Secondo la documentazione di brevetto viene riempita una camera gonfiabile che insieme a una camera di rilevamento e a un sensore di pressione rileva le “vibrazioni” risultanti che si verificano nel flusso sanguigno dell’utente, note anche come suoni di Korotkoff.
Il brevetto menziona che la camera è riempita di liquido, tuttavia non è chiaro quali vantaggi offrirebbe rispetto all’aria. La differenza sta nel fatto che i liquidi sono considerati incomprimibili a differenza dei gas.

I prossimi Apple Watch potrebbero quindi essere in grado di misurare la pressione sanguigna in un modo innovativo, non essendo basati sulla misurazione ottica, ma non è ancora chiaro se e quando Apple implementerà effettivamente questa tecnologia.
Come sempre vale la pena ribadire che depositare un brevetto non implica che l’idea diventerà un giorno realtà, infatti la maggior parte non vedono mai la luce.
I nostri contenuti da non perdere:
- 🔝 Importante: Intel Arc B580 vs NVIDIA GeForce RTX 5050: gaming consumi e prezzi
- 🚨 La prova di Reolink Home Hub: un sistema di video-sorveglianza in locale, affidabile ed economico
- 💰 Risparmia sulla tecnologia: segui Prezzi.Tech su Telegram, il miglior canale di offerte
- 🏡 Seguici anche sul canale Telegram Offerte.Casa per sconti su prodotti di largo consumo

