Abbiamo tutti ben presente come il mondo Android abbia visto da tempo l’avvento degli smartphone pieghevoli, diversi brand infatti si sono cimentati in questo settore, chi meglio e chi peggio, ma Apple che rappresenta l’unica alternativa al mondo Android non ha ancora sviluppato un iPhone pieghevole.
Le voci riguardanti questo ipotetico dispositivo circolano già da un po’ e ogni tanto spunta qualche nuovo brevetto depositato dall’azienda; oggi apprendiamo di un altro interessante documento con alcune nuove caratteristiche, depositato forse nel tentativo di accelerare i lavori e non farsi più prendere in giro dal rivale Samsung.
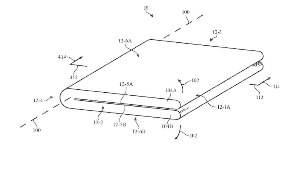
L’iPhone pieghevole potrebbe essere sensibile al tocco su tutta la scocca
I colleghi di AppleInsider hanno individuato un nuovo brevetto depositato da Apple, denominato “Dispositivi elettronici con display e strutture di sensori tattili”, lo scopo è quello di modificare il modo in cui l’utente interagisce con il proprio dispositivo. Il telaio del dispositivo pieghevole dovrebbe contenere tutta una serie di componenti quali circuiti di controllo, batterie e altro; la scocca potrà includere sia parti opache che trasparenti costituite da materiali come plastica opaca, metallo, fibra composita e ceramica. Il dispositivo pieghevole descritto nel brevetto offrirà controlli touch lungo tutti i bordi.
L’idea dei bordi sensibili al tocco potrebbe essere implementata in svariati modi, andando non solo ad eliminare i pulsanti fisici, ma anche quelli a stato solido, nel brevetto ci sono diverse ipotesi:
L’input tattile sulle pareti laterali [potrebbe anche] essere utilizzato come controllo per una fotocamera (ad esempio, un input del pulsante di scatto virtuale). può essere utilizzato come input in altri scenari di pulsanti virtuali, può essere utilizzato nell’implementazione di un volume pulsante di scorrimento o un pulsante di scorrimento per il controllo di altre operazioni del dispositivo (ad esempio, luminosità dello schermo, impostazioni del colore, impostazioni del contrasto, ecc.). Le aperture possono essere formate nelle pareti [dei bordi sensibili al tocco] come per accogliere un pulsante.
Insomma Apple sembra intenzionata a fare le cose per bene, considerando il ritardo sulla concorrenza nel settore dei pieghevoli, quando giungerà l’ora non potrà immettere sul mercato un dispositivo uguale a tutti gli altri, limitandosi a brandizzarlo con una mela sul retro, anche se questo già da solo le assicurerebbe diverse vendite.
Potrebbe interessarti anche: L’iPhone pieghevole sarà a conchiglia? Eccone un assaggio ben dettagliato
I nostri contenuti da non perdere:
- 🔝 Importante: Recensione ASUS ExpertBook Ultra: la vera sorpresa tra i notebook con Intel Core Panther Lake
- 🚨 I migliori Notebook MSI Prestige, adatti per ogni esigenza
- 💻 La prova di Reolink Home Hub: un sistema di video-sorveglianza in locale, affidabile ed economico
- 💰 Risparmia sulla tecnologia: segui Prezzi.Tech su Telegram, il miglior canale di offerte
- 🏡 Seguici anche sul canale Telegram Offerte.Casa per sconti su prodotti di largo consumo

