A differenza di vari produttori di smartphone Android, che ormai da alcuni anni si sono lanciati nel settore dei dispositivi pieghevoli, Apple fino a questo momento ha preferito essere più “cauta” ma ciò non significa che il team di ingegneri del colosso di Cupertino non sia al lavoro per realizzare dei device dotati di display che si piegano e una conferma ci arriva da un nuovo brevetto.

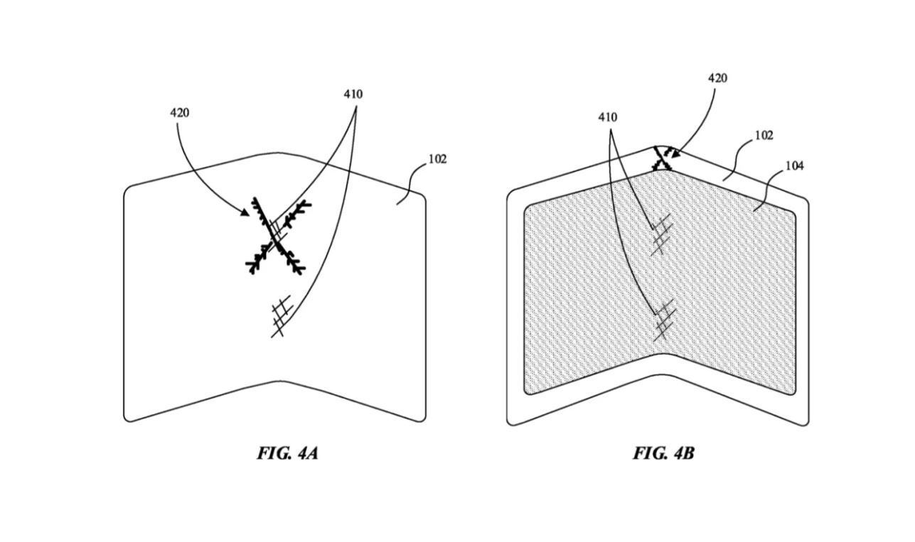
Apple, infatti, ha ottenuto un brevetto relativo ad un display pieghevole e che sarebbe anche resistente alle crepe, risolvendo così in parte uno dei problemi che preoccupano maggiormente il colosso di Cupertino, ossia quello della durabilità di questo genere di schermi.

Ecco cosa Apple prepara per gli smartphone pieghevoli

Il brevetto ottenuto dal colosso di Cupertino (numero US-20230011092-A1) ha ad oggetto un display pieghevole, cacape di resistere alle crepe, che potrebbe eventualmente arrivare su un certo numero di dispositivi di Apple.

Apple brevetto

Tale tecnologia potrebbe risolvere una delle principali preoccupazioni che gli utenti devono affrontare oggi quando si tratta di dispositivi pieghevoli e, pertanto, potenzialmente convincere più acquirenti a provare il nuovo fattore di forma.

Va messo in evidenza che questo non è il primo tentativo di Apple di migliorare la durata dei display pieghevoli, a conferma del fatto che il produttore statunitense ha in programma di lanciare dei device con tale tecnologia.

E proprio a tal proposito, lo scorso anno ha ottenuto un brevetto relativo ad un display capace di riparare da solo dei piccoli graffi, altro problema piuttosto comune nei moderni smartphone pieghevoli.

Al momento non è chiaro quale potrebbe essere il prodotto scelto da Apple per fare esordire il suo primo display pieghevole ma è probabile che l’azienda possa puntare sull’iPad, così da valutare la risposta degli utenti prima di lanciare anche un iPhone capace di piegarsi.

Ad ogni modo, probabilmente ci sarà da avere ancora un bel po’ di pazienza.