Apple continua a valutare tutte le opzioni utili per rinnovare i suoi prodotti ed anche la gamma Apple Watch è oggetto di una serie di progetti che, in futuro, potrebbero tradursi in nuove funzionalità per lo smartwatch della casa di Cupertino. La conferma arriva da un nuovo brevetto con cui Apple anticipa il possibile inserimento di una fotocamera all’interno della scocca di Apple Watch. Non si tratta di una novità assoluta. Apple, in passato, aveva già depositato un brevetto simile ma l’implementazione della fotocamera in questo nuovo progetto è inedita. Ecco i dettagli completi:
Apple Watch: nella Digital Crown c’è spazio per una fotocamera?
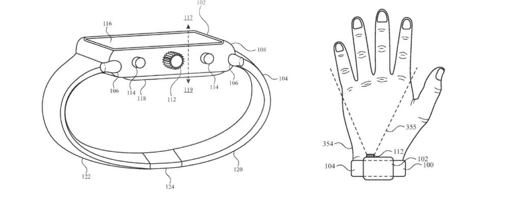
Da tempo, i progetti di Apple valutano le opzioni disponibili per integrare una fotocamera all’interno della scocca dell’Apple Watch. Anche se non è chiaro il modo in cui Apple punti a sfruttare questo componente, i lavori della divisione di ricerca e sviluppo di Apple vanno avanti in tal senso. Dopo aver visto un brevetto che anticipava l’integrazione della fotocamera sotto al display, oggi un nuovo progetto anticipa la possibile integrazione nella Digital Crown. A chiarire il posizionamento del sensore e il suo possibile utilizzo è l’immagine qui di sotto:

La documentazione del brevetto suggerisce che l’utente potrebbe utilizzare il display dell’Apple Watch per “vedere” attraverso la fotocamera integrata nella Digital Crown. In questo modo, sarebbe possibile controllare se il soggetto da fotografare viene effettivamente catturato dagli scatti della fotocamera. Il sensore, inoltre, potrebbe essere utilizzato anche per altre funzionalità.
Da notare che il brevetto di Apple non entra nei dettagli in merito al modo in cui l’utente potrebbe scattare le foto. Oltre al controllo tramite il display touch, infatti, potrebbero essere implementate delle gesture particolari in grado di avviare la fotocamera senza interagire con il display.
Un altro elemento da chiarire è puramente tecnico. Il brevetto, infatti, non approfondisce il modo in cui, dal punto di vista ingegneristico, sia possibile integrare un sensore fotografico di buona qualità all’interno della Digital Crown, un componente di dimensioni ridotte e che al suo interno già include diversi elementi.
L’integrazione di una fotocamera all’interno dell’Apple Watch andrebbe poi a mettere in evidenza diverse problematiche legate alla privacy. Tutti questi aspetti, però, non vengono trattati dal brevetto. La documentazione, infatti, punta a certificare l’idea di poter integrare un sensore fotografico anche all’interno della Digital Crown dell’Apple Watch. L’effettiva implementazione del progetto andrà valutata solo successivamente.
Leggi anche: Apple Watch si fa più bello e vicino ai diritti LGBTQ+ con la serie Pride Edition
I nostri contenuti da non perdere:
- 🔝 Importante: Amazon chiarisce che Fire TV non passerà a Vega OS ma resterà su Fire OS ancora a lungo
- 💻 Scegli bene e punta al sodo: ecco le migliori offerte MSI notebook business Black Friday 2025
- 💰 Risparmia sulla tecnologia: segui Prezzi.Tech su Telegram, il miglior canale di offerte
- 🏡 Seguici anche sul canale Telegram Offerte.Casa per sconti su prodotti di largo consumo

