L’attesa che avvolge Tesla Semi, il primo camion dell’azienda facente capo a Elon Musk, continua a crescere, ma nel frattempo il produttore statunitense ha anche brevettato una nuova tecnologia per gomme che si gonfiano da sole, che rappresenta un affinamento di quanto già visto su mezzi speciali e militari e che potrebbe debuttare proprio sul chiacchierato truck.
Di Tesla Semi si parla ormai da qualche anno e tuttora non sappiamo con precisione quando lo vedremo davvero sul mercato, anche se le indiscrezioni continuano a moltiplicarsi ed è noto che Tesla sta avendo il suo bel da fare per collaudarne la capacità di carico e le doti su strada. La tecnologia al centro di questo nuovo brevetto del produttore di veicoli elettrici potrebbe migliorare in maniera significativa proprio quest’ultimo aspetto.
Tesla Semi con gomme che si (s)gonfiano da sole
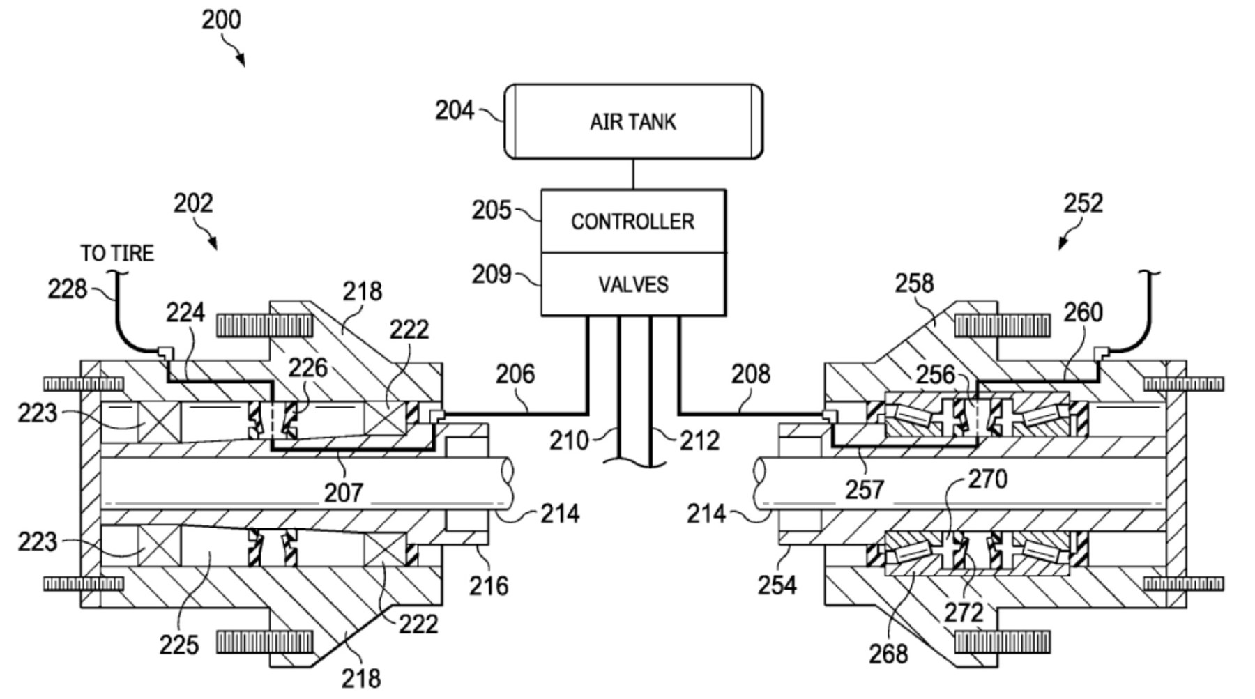
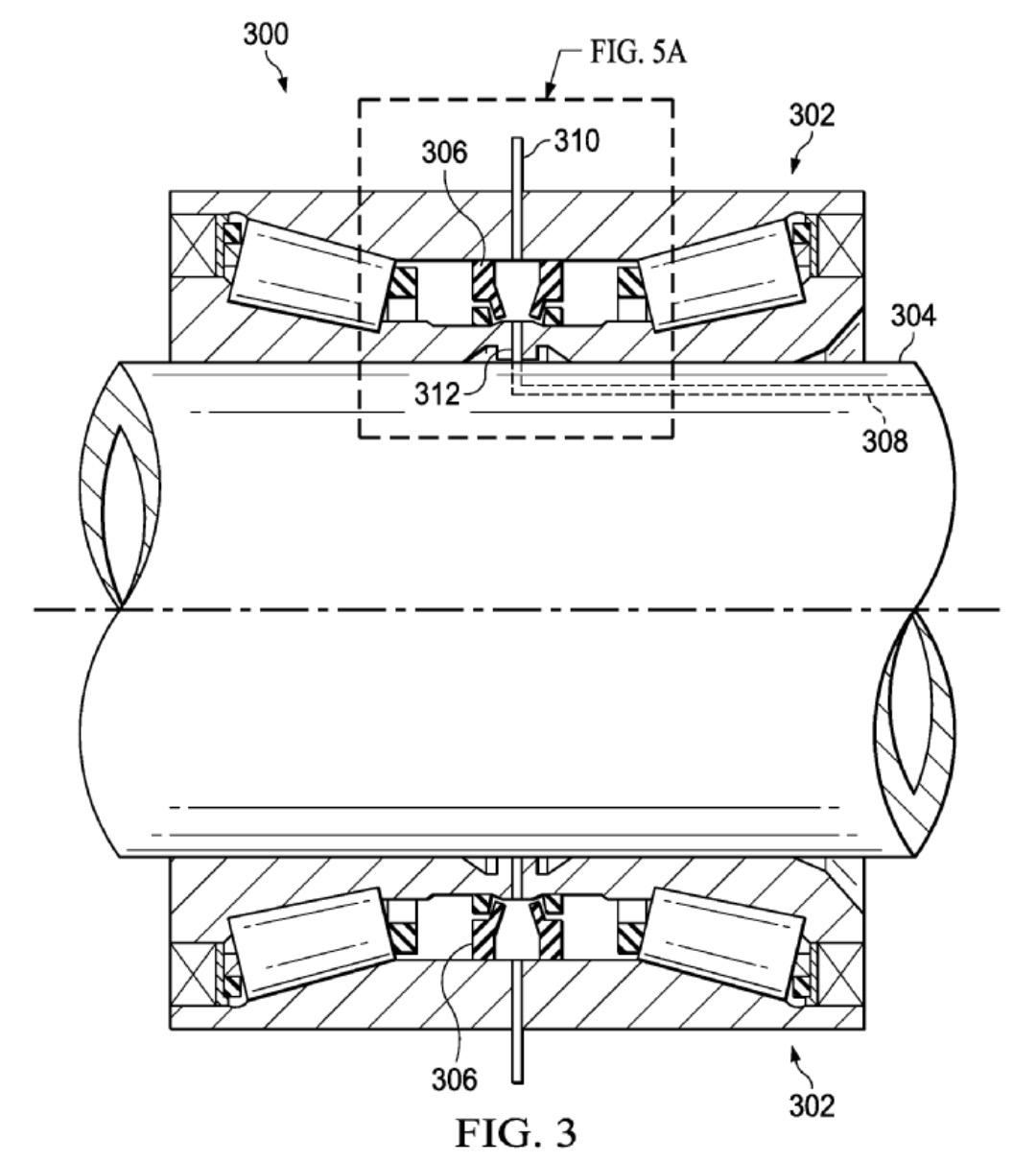
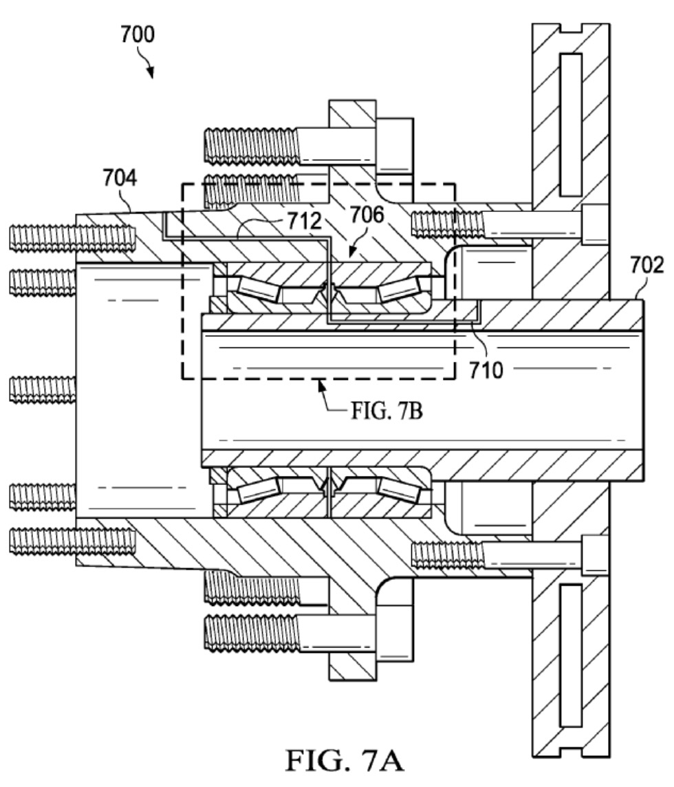
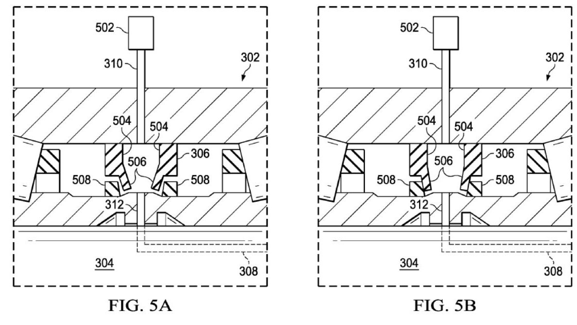
In particolare, si tratta di un sistema ATIS (Automatic Tire Inflation Systems), vale a dire capace di modificare in tempo reale la pressione degli pneumatici, gonfiandoli o sgonfiandoli a seconda delle esigenze.
Non è la prima volta che questo brevetto salta fuori, anzi le prime indiscrezioni in argomento risalgono addirittura al 2018, tuttavia adesso siamo ad un punto di svolta: mentre in precedenza non ne era ben chiara la destinazione d’uso, adesso l’arcano è stato svelato, perché a registrare l’invenzione è stato John Furtado, vale a dire uno dei responsabili del progetto Tesla Semi (con focus su “freni, controlli dei freni, sistemi pneumatici, estremità delle ruote, ruore e gomme“).
La tecnologia in argomento, va detto, non è completamente inedita, visto che alcuni mezzi militari o veicoli speciali fanno già uso di un sistema per certi versi simile che si occupa di abbassare la pressione degli pneumatici allorquando il fondo sia particolarmente impervio e una migliore aderenza si renda necessaria. Tanto per menzionare un paio di veicoli non esattamente di comune utilizzo, la soluzione descritta è presente su Mercedes Unimog e Mercedes G 63 AMG 6×6.
Il sistema ATIS di cui, a questo punto, dovrebbe essere dotato il gigantesco Tesla Semi è ben più avanzato e complesso e fa uso di più canali e valvole che dovebbero servire a migliorare il livello di affidabilità del sistema e ridurre ulteriormente il rischio di perdite d’aria. Insomma, la tecnologia messa a punto da Tesla dovrebbe consentire di superare i problemi delle soluzioni preesistenti.
Per i più curiosi, ecco alcuni disegni del brevetto, approvato in data odierna dallo United States Patent and Trademark Office e il testo completo della soluzione studiata da Tesla:
«An Automatic Tire Inflation System (ATIS) for use with a vehicle according to a first described embodiment includes a controller, valves controlled by the controller, the valves having an air supply inlet, and a plurality of air outlets. Further the ATIS includes, for at least one drive axle having inner bearings and outer bearings, a channel formed in a spindle, first hosing coupling a valve of the valves controlled by the controller to the channel formed in the spindle, a channel formed in a hub, a rotary air seal residing between the inner bearings and the outer bearings and coupling the channel formed in the spindle to the channel formed in the hub, and second hosing coupling the channel formed in the hub to at least one wheel.
Thus, as compared to the prior ATIS systems, the ATIS of the first embodiment, significantly reduces contamination in the ATIS air stream. Reduction in contamination extends the life of the ATIS, extends spindle life, extends hub life, and extends serviced wheel/tire lives and extends maintenance intervals».








Tesla Semi: un camion elettrico veloce come una supercar
Quello appena descritto è un brevetto e, come tale, non è scontato che trovi applicazione concreta, soprattutto nell’immediato. In ogni caso si potrebbe ipotizzare un utilizzo del sistema ATIS sulle sole versioni con equipaggiamenti più ricchi di Tesla Semi.
Il modello base del camion elettrico, il primo di Classe 8, dovrebbe presto entrare nelle flotte di grandi catene statunitensi come Walmart e Pepsi.
Tornando ai numeri promessi da Tesla in sede di presentazione, Semi dovrebbe garantire fino a 1.000 km di autonomia, un’accelerazione sorprendente da 0 a 100 in circa 5 secondi a vuoto e di circa 20 secondi a pieno carico (fino a 36 tonnellate di merce).
Per quanto riguarda la ricarica, Tesla punta tanto sui Megacharger: in costruzione nella Gigafactory Nevada, le colonnine — come riporta InsideEVs — dovrebbero fornire fino a 1,5 MW di potenza.
Leggi anche: La classifica delle auto elettriche più vendute in Europa incorona una sorpresa
I nostri contenuti da non perdere:
- 🔝 Importante: Aspettiamoci cambiamenti importanti per iPhone 18 e iPhone 18 Pro
- 🚨 Vuoi un notebook gaming serio senza spendere troppo? MSI Cyborg 15 con RTX 5060 è la risposta
- 💰 Risparmia sulla tecnologia: segui Prezzi.Tech su Telegram, il miglior canale di offerte
- 🏡 Seguici anche sul canale Telegram Offerte.Casa per sconti su prodotti di largo consumo

