Non è la prima volta che qualcuno pensa a uno smart ring, anzi. Anni or sono che il mercato, di anelli intelligenti ne ha proposti di varie tipologie con in comune l’obiettivo di monitorare la salute rilevando la frequenza cardiaca e altri parametri.
Di successo non ce n’è traccia, è evidente. Ora però chi il discorso potrebbe cambiare perché dietro c’è qualcuno di un certo peso: nientepopodimeno che Google, colosso che starebbe pensando a un indossabile con tanto di fotocamera selfie. Vediamo di che si tratta.
Come sarà lo smart ring di Google
Al momento non è altro che un brevetto che testimonia l’idea di uno smart ring capace di scattare dei selfie. Google ne ha presentato domanda all’USPTO (acronimo di United States Patent and Trademark Office) nel maggio 2019, ma è vecchia di appena una manciata di giorni la pubblicazione effettiva presso l’ente statunitense.
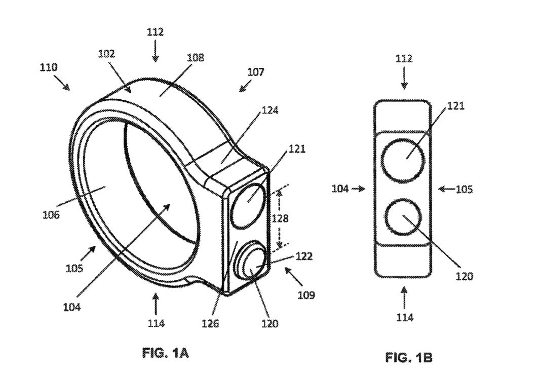
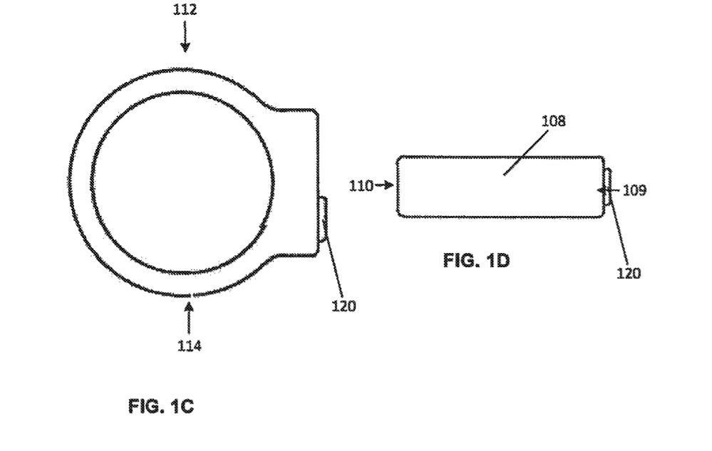
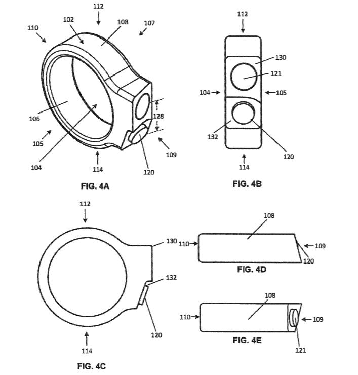
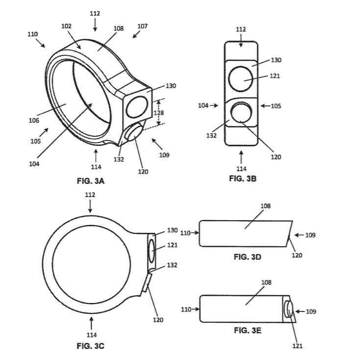
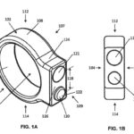
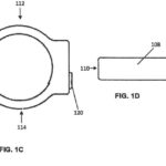
Comunque, secondo quanto pubblicato all’interno del documento in questione, l’anello intelligente di Google sarà dotato di un processore per elaborare e trasmettere dati, un dispositivo di input (un pulsante o sensore tattile che sia), un sensore ottico (fotocamera sporgente), un trasmettitore, un alimentatore e un indicatore per segnalare eventuali notifiche o avvisi.
Lo smart ring dovrebbe vantare inoltre di un dispositivo aggiuntivo abbinato per la visualizzazione delle immagini, una sorta di Head-up display o di occhiali intelligenti.

Dal punto di vista della costruzione, circolare, a spirale o elicoidale che sia, l’anello dovrebbe essere in ogni caso composto in due parti, per meglio adattarsi alle dita di chiunque.
Lato funzionalità, si cita che la fotocamera possa trasmettere in tempo reale i contenuti sullo schermo di uno smartphone abbinato via Bluetooth ad esempio e che, a seconda del dispositivo di input inserito, sarà gestibile col tocco o con una o più livelli di pressione.








Insomma, un brevetto di un prodotto curioso, per non dire interessante, di cui potremmo scoprire di più col passare del tempo. Perciò, restate collegati.
Leggi anche: le migliori smartband del momento
I nostri contenuti da non perdere:
- 🔝 Importante: Recensione CMF Watch 3 Pro: costa poco ma vale ogni centesimo
- 💻 Scegli bene e punta al sodo: ecco le migliori offerte MSI notebook business Black Friday 2025
- 💰 Risparmia sulla tecnologia: segui Prezzi.Tech su Telegram, il miglior canale di offerte
- 🏡 Seguici anche sul canale Telegram Offerte.Casa per sconti su prodotti di largo consumo
