Stando a quanto si apprende da alcuni brevetti, Apple è al lavoro su un meccanismo a cerniera per una custodia per tastiera per iPad che potrebbe piegarsi in modo più piatto rispetto agli attuali modelli e offrire all’utente nuovi metodi di feedback tattile.
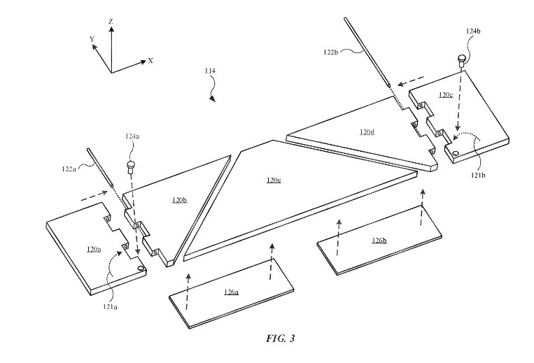
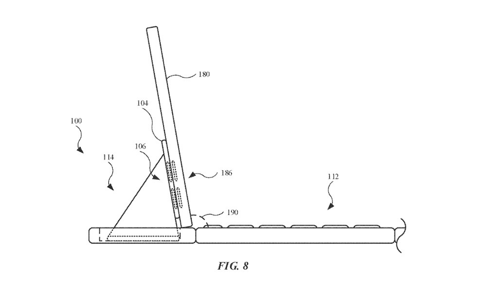
Il primo brevetto, chiamato “Accessory Devices for Portable Electronic Devices“, riguarda una custodia con tastiera per tablet con un nuovo metodo per offrire posizioni di visualizzazione regolabili (per esempio, potrebbe utilizzare due componenti cerniera, collegate da un giunto, piatte al posto di quelle tradizionali, che di solito sono circolari e basate sull’attrito).
Questo tipo di assemblaggio per cerniera a dire Apple offre alcuni vantaggi rispetto a quelli tradizionali, come la possibilità di essere applicato a dispositivi più sottili e piatti e la possibilità di essere meglio nascosto alla vista quando è ripiegato.
Stando a tali immagini, il produttore potrebbe anche trovare lo spazio per un “dispositivo di input aggiuntivo”, come un touch pad o una fila di tasti ulteriore rispetto alla tastiera QWERTY standard.
Apple ha anche un altro nuovo brevetto
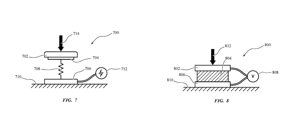
Con un altro brevetto, chiamato “Keyboard with Adjustable Feedback“, Apple esplora come aggiungere ad una tastiera degli elementi di risposta all’input dell’utente.
Il brevetto delinea vari componenti interni che possono fornire una forza variabile o un feedback udibile quando un utente preme un tasto, con vari modi per regolare l’input tattile: un primo esempio è rappresentato dal suono dei tasti (che potrebbe essere impostato ad un volume più elevato per un dattilografo e più basso per un utente normale) e un secondo potrebbe essere rappresentato da dei piccoli segnali o una texture su alcuni tasti (per intenderci, come quelli tradizionalmente già adottati sulle lettere F e J).
Magari nei prossimi mesi ne sapremo di più.
I nostri contenuti da non perdere:
- 🔝 Importante: Recensione Octopus Energy dopo 2 anni: pro e contro
- 💻 Scegli bene e punta al sodo: ecco le migliori offerte MSI notebook business Black Friday 2025
- 💰 Risparmia sulla tecnologia: segui Prezzi.Tech su Telegram, il miglior canale di offerte
- 🏡 Seguici anche sul canale Telegram Offerte.Casa per sconti su prodotti di largo consumo




