Spunta un brevetto interessante riguardante Apple Car: nello specifico si parla di un sistema di ricarica che renderebbe meno problematica l’operazione, sia che si tratti di ricarica wireless o via cavo.
Nella domanda di brevetto, Apple afferma che quando si tratta di trasferire energia tra una fonte di alimentazione e le apparecchiature che richiedono alimentazione, di solito un utente deve collegare manualmente un cavo, e quando non è presente un cavo di alimentazione, l’utente deve allineare l’apparecchiatura per l’alimentazione con una fonte di ricarica wireless, proprio come quando utilizziamo uno smartphone come il nuovo iPhone 11 provvisto di ricarica wireless e dobbiamo posizionarlo correttamente su di un pad QI.

Apple afferma che questi tipi di sistemi possono essere “ingombranti e inefficienti“, in quanto possono essere inclini a disallineamenti ed errori dell’operatore, generando preoccupazioni che possono rendere difficile o impossibile fornire energia nel modo più efficiente. Forse queste preoccupazioni sono un tantino esagerate, dato che da anni carichiamo dispositivi via cavo o wireless, ma il gigante della tecnologia afferma che sarebbe “desiderabile” fornire un sistema migliore per il trasferimento di energia verso i dispositivi.
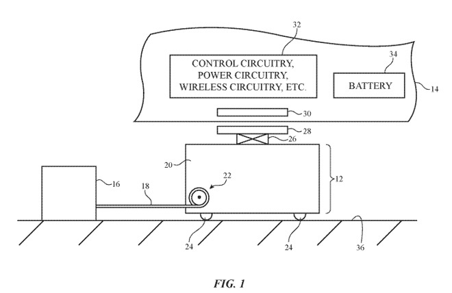
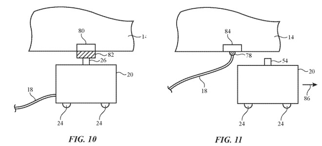
Ecco il riassunto del brevetto: “Un dispositivo di ricarica mobile può essere utilizzato per spostare una batteria o un cavo di alimentazione su un dispositivo di destinazione. Il dispositivo target può essere un veicolo o altra attrezzatura con una batteria. L’energia dal cavo di alimentazione o dalla batteria nel dispositivo di ricarica può essere utilizzata per fornire alimentazione al dispositivo target per ricaricare la batteria nel dispositivo target.” Anche se potrebbe trattarsi di un device generico, la compagnia di Cupertino menziona specificamente un veicolo elettrico.
Ed ecco che si arriva alla parte interessante: “Il dispositivo di ricarica può accoppiare un cavo di alimentazione al dispositivo di destinazione, può accoppiare un connettore nel dispositivo di ricarica al dispositivo di destinazione o può utilizzare un elemento di trasferimento di energia wireless come un’antenna a bobina per trasferire energia in modalità wireless al dispositivo di destinazione. I sensori possono essere utilizzati per facilitare l’allineamento tra il dispositivo di ricarica e il dispositivo target. I sensori possono anche essere utilizzati per rilevare dinamicamente ed evitare oggetti estranei nel percorso del dispositivo di ricarica. “
Ovviamente, Apple presenta tantissimi brevetti all’U.S. Patent & Trademark Office ogni giorno. Molti di questi riguardano invenzioni che non vedranno mai la luce del giorno. Tuttavia, non si può mai dire quali si materializzeranno in un prodotto reale: forse con la future Apple Car, o Project Titan come viene chiamato internamente all’azienda tutto ciò che riguarda gli sforzi di Apple nel settore automotive, potremo avere anche un sistema di ricarica simile nel nostro garage.
I nostri contenuti da non perdere:
- 🔝 Importante: Recensione Amazfit Active 3 Premium: elegante e curato, con un prezzo democratico
- 🚨 Vuoi un notebook gaming serio senza spendere troppo? MSI Cyborg 15 con RTX 5060 è la risposta
- 💰 Risparmia sulla tecnologia: segui Prezzi.Tech su Telegram, il miglior canale di offerte
- 🏡 Seguici anche sul canale Telegram Offerte.Casa per sconti su prodotti di largo consumo



