Correva l’anno 2018 quando Apple introduceva su watchOS 5 il gesto con cui dire qualcosa all’assistente vocale senza dover passare per il consueto “Ehi, Siri”: bastava portare l’Apple Watch vicino al volto e chiedere informazioni o impartire un comando. Sembra passato un secolo dal debutto di quel Raise to speak, e già un anno dopo Apple intendeva espandere tali funzioni, pubblicando una domanda di brevetto che moltiplicava le funzioni possibili rilevando i movimenti del polso.
Ora il brevetto in questione è stato approvato e questo significa che prossimamente alcune delle funzioni integrate potrebbero arrivare sugli Apple Watch, anche quelli già in commercio considerando che non servono particolari sensori se non i diversi già integrati negli orologi. Basterebbe un aggiornamento, una nuova versione di watchOS, ma nell’attesa di eventuali applicazioni concrete scopriamo di che si tratta.
I nuovi gesti di Apple Watch appena brevettati
Per usare un Apple Watch (o qualsiasi altro smartwatch) nella maggior parte dei casi serve beninteso una mano libera, per poter ruotare la corona digitale o selezionare qualcosa col touch. Ci sono anche i comandi vocali che tornano utili, ma in alcuni casi possono risultare scomodi o inappropriati.
Per questo motivo i gesti, soprattutto su un dispositivo come Apple Watch, sono una strada percorribile, se ragionata in un certo modo. Il concetto di base della Mela è lo stesso di cui sopra, l’alza per parlare legato a Siri. Ma anziché servirsene per invocare quest’ultimo, il brevetto in questione propone qualche altra idea.
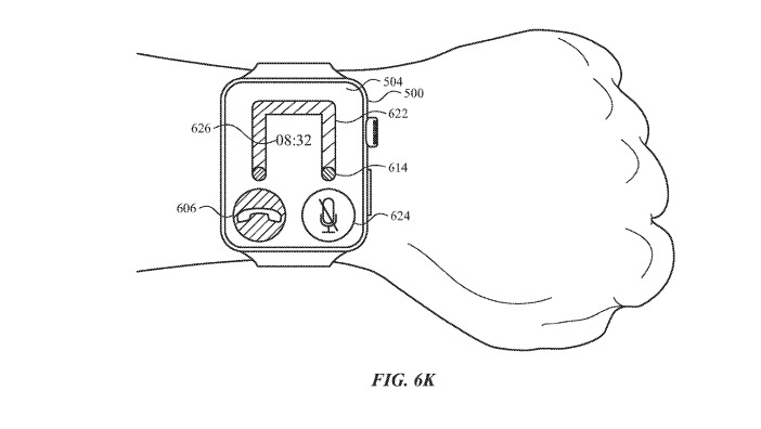
La più logica è accettare o rifiutare una chiamata in arrivo, funzione spiegata in un bozzetto in cui è possibile afferrare il funzionamento. Grazie ai sensori montati, l’Apple Watch andrebbe a sfruttare la forza di gravità permettendo all’utente di direzionare una pallina verso una delle due corsie stabilite: a destra per accettare e a sinistra per rifiutare la chiamata. Semplicissimo.

Un’altra idea proposta nel brevetto riguarda la fase successiva. Accettata la chiamata i due binari permettono di disattivare il microfono o riagganciare a seconda della corsia verso la quale si direziona la pallina.

Un altro esempio indicato, un pelo più complicato è quello che segue. Si vedono delle note che corrisponderebbero a una situazione di prossimità e lontananza del dispositivo rispetto a qualcosa, probabilmente al viso. Una combinazione del genere potrebbe essere utile come alternativa alla precedente proposta per accettare (due volte verso la stessa direzione) o rifiutare una chiamata (gesti contrari).

L’ultimo gesto proposto è probabilmente il più semplice, quello che la maggior parte di noi finirebbe per attivare, con buona probabilità. Inclinare l’Apple Watch verso una direzione o quella opposta per rispondere o rifiutare una telefonata.

È chiaro che, oltre che per le chiamate, tali gesti potrebbero tornare utili anche per tante altre funzioni o aspetti una volta implementati. Sarebbero un’ottima alternativa d’uso e soprattutto delle funzionalità aggiungibili senza particolare sforzo perché software, benché legate ai sensori integrati sugli Apple Watch.
Di qui l’ipotesi succitata: l’eventualità di ritrovarseli in futuro all’interno di un aggiornamento di watchOS, specie ora che la domanda di brevetto è stato approvata.
In copertina Apple Watch Series 7
Forse ti sei perso: Disponibile Oceanic+, l’app che rende Apple Watch Ultra un computer subacqueo
I nostri contenuti da non perdere:
- 🔝 Importante: MediaWorld festeggia la Pasqua con gli App Days: 15% di sconto oggi e domani
- 🚨 Vuoi un notebook gaming serio senza spendere troppo? MSI Cyborg 15 con RTX 5060 è la risposta
- 💰 Risparmia sulla tecnologia: segui Prezzi.Tech su Telegram, il miglior canale di offerte
- 🏡 Seguici anche sul canale Telegram Offerte.Casa per sconti su prodotti di largo consumo

