Il colosso delle vendite online lo scorso anno ha depositato circa 200 brevetti ogni mese: questo mese sono stati solo 154, ma alcuni di questi sono davvero molto, molto interessanti. Amazon Prime Air è il servizio che affiancherà e cambierà totalmente il modo in cui Amazon consegna i pacchi: una flotta di droni capaci di poter volare autonomamente verso le destinazioni e consegnare anche in zone largamente popolate.
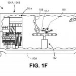
L’azienda però sta già pianificando il suo piano di conquista per poter consegnare i suoi pacchi ovunque, anche in zone remote in cui il segnale GPS è scarso o lontani dai centri di smistamento pacchi. Uno dei brevetti depositati vede infatti Amazon intenzionata a lanciare i suoi droni Prime Air direttamente da vagoni merci.








L’idea è quella di trasformare i container classici che vengono utilizzati per il trasporto merci in veri e propri centri di smistamento mobili, con un braccio robot addetto al caricamento dei pacchi sui droni. All’interno del container ci sarebbe anche un “lanciatore” di droni, posto lì per consentire il decollo dei droni di Amazon direttamente dal tetto. Una volta completata la consegna il drone volerà verso un punto di rendezvous con il vagone merci.
Amazon Prime Air non viaggerà solo sui treni però: per raggiungere le zone remote con scarsa copertura GPS l’azienda potrebbe servirsi di mini-flotte di droni capaci di triangolare la loro posizione con maggior precisione e poter così consegnare i pacchi alle coordinate giuste.
Samsung Galaxy S26 Ultra, 512GB
Offerta + coupon: TUTTOANDROID4U + usa il metodo di pagamento PayPal per l'ulteriore 5% di sconto
Quanti droni servono per consegnare pacchi in zone remote?
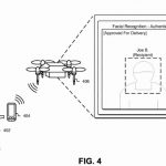
Secondo Amazon tre sono sufficienti, anche se questa sarebbe solo l’opzione più estrema: l’azienda potrebbe chiedere infatti di poter incontrare il drone per la consegna in una zona vicina ma meglio servita dalla connettività GPS. Una volta al punto di consegna, il drone riconoscerà l’identità della persona attraverso vari metodi: codice, scansione della retina o delle impronte o potrebbe semplicemente riconoscere il vostro volto.
Amazon sta sviluppando dal 2016 la sua personale tecnologia di riconoscimento del volto, Rekognition. Combinando la potenza dell’intelligenza artificiale e il programma Amazon Prime Air, Jeff Bezos vuole davvero rivoluzione il modo in cui in futuro potremo acquistare e farci recapitare prodotti da Amazon.
C’è anche da considerare il rovescio della medaglia: le nostre città e cieli potrebbero essere pieni di droni dotati di telecamere per il riconoscimento del nostro volto, per non parlare dell’aspetto riguardante la nostra sicurezza e privacy.
Leggi anche: Ikea lancia il guanto di sfida a Google e Amazon: “Punteremo forte su domotica e Smart Home”
I nostri contenuti da non perdere:
- 🔝 Importante: Recensione Roborock Saros 20: lavaggio a 100°, 36.000 Pa di aspirazione e cura nei dettagli
- 💰 Risparmia sulla tecnologia: segui Prezzi.Tech su Telegram, il miglior canale di offerte
- 🏡 Seguici anche sul canale Telegram Offerte.Casa per sconti su prodotti di largo consumo

