Un nuovo brevetto ottenuto da Apple all’inizio di questo mese dall’ufficio brevetti e marchi degli Stati Uniti (USPTO) rivela che il colosso di Cupertino sta lavorando a un particolare Apple Watch con fotocamera integrata.
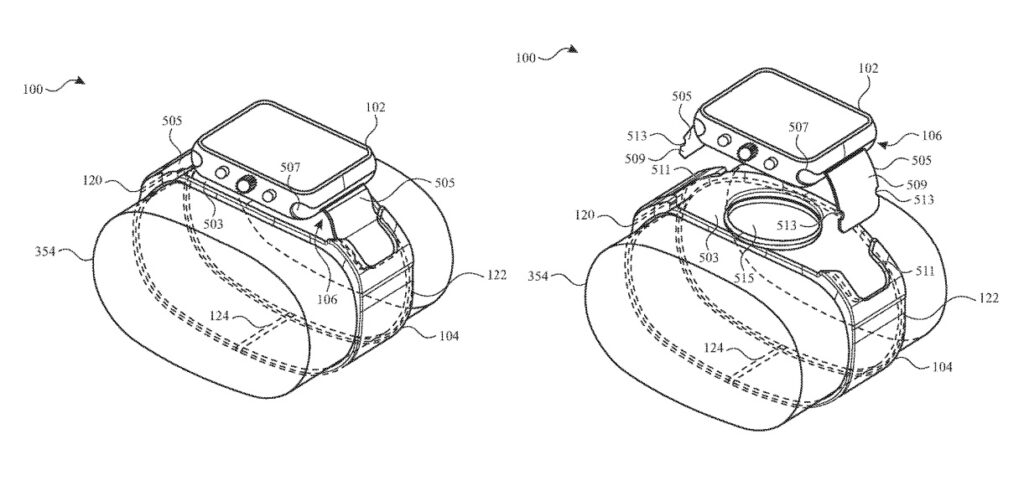
La documentazione parla di uno “smartwatch con meccanismo di rilascio” e descrive una soluzione che consente agli utenti di Apple Watch di utilizzare una fotocamera situata nella parte inferiore del dispositivo.
Il brevetto prevede uno speciale cinturino con una funzione di sgancio rapido che consentirebbe di scollegare facilmente il corpo dello smartwatch per offrire all’utente la possibilità di scattare foto e video con la fotocamera posteriore integrata e e successivamente ricollocare saldamente il corpo dello smartwatch nella base del cinturino.
Il brevetto spiega che lo smartwatch si aggancerebbe alla base del cinturino utilizzando un meccanismo simile a un attacco o un magnete che consentirebbe di rimuovere il corpo del dispositivo indossabile senza la necessità di togliere l’intero cinturino dal polso.
Segui TuttoTech.net su Google Discover
Samsung Galaxy S26 Ultra, 256GB
In omaggio Tab S10 FE+ 5G & Keyboard (da richiedere al ricevimento)
Apple brevetta uno smartwatch con fotocamera integrata
Apple offre già l’accessorio Wristcam, un cinturino per gli Apple Watch dalla serie 3 alla serie 8, i modelli SE e l’Ultra che integra due fotocamere, una rivolta verso l’utente per i selfie e l’altra rivolta verso il mondo.
Trattandosi di un brevetto non è detto che questo presunto Apple Watch con fotocamera raggiungerà gli scaffali, ma almeno testimonia che l’azienda di Cupertino non esclude un’idea del genere.
Da non perdere: Migliori smartwatch con e senza Wear OS | Febbraio 2023
Spunta TuttoTech.net come fonte preferita su Google
I nostri contenuti da non perdere:
- 🔝 Importante: Zepp OS 6 in arrivo a maggio e Amazfit prepara altri aggiornamenti
- 🚨 Vuoi un notebook gaming serio senza spendere troppo? MSI Cyborg 15 con RTX 5060 è la risposta
- 💰 Risparmia sulla tecnologia: segui Prezzi.Tech su Telegram, il miglior canale di offerte
- 🏡 Seguici anche sul canale Telegram Offerte.Casa per sconti su prodotti di largo consumo

