In un brevetto approvato di recente ma inviato nel 2017 viene mostrato un dispositivo di input di nuova generazione, quello che Apple potrebbe avere in mente per un nuovo Magic Mouse o anche un Magic Mouse Pro, come il trend dell’azienda imporrebbe ultimamente.
Si tratta di un nuovo modo di pensare al mouse come strumento dinamico, in netto contrasto con qualunque altro device visto finora. Come sempre ricordiamo che l’approvazione di un brevetto non implica una sua futura commercializzazione, ma un interesse dell’azienda, in questo caso Apple, nella tecnologia e le soluzioni adottate su questo prototipo.
Un nuovo metodo di input

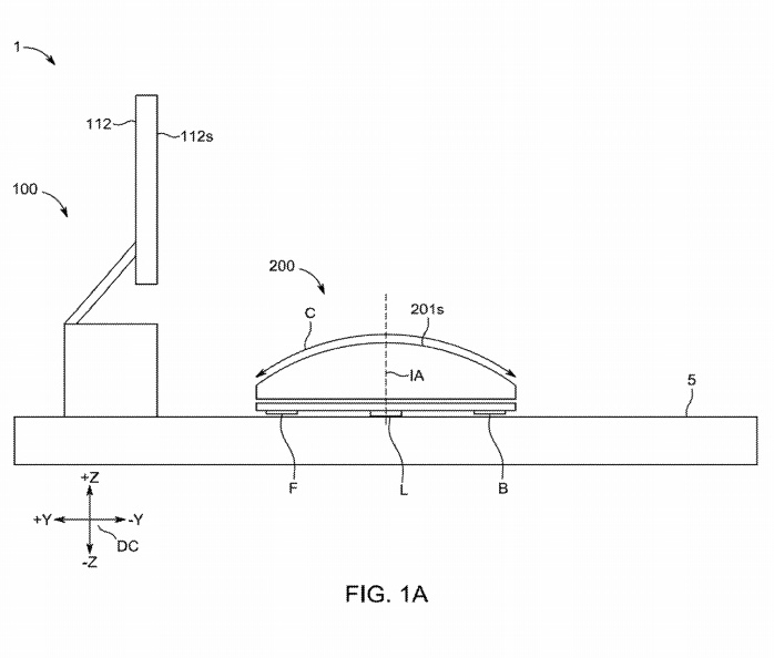
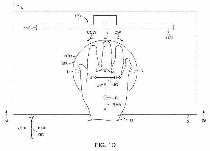
La forma di quello che potrebbe essere la prossima generazione di Magic Mouse, o Magic Mouse Pro, è quella di una cupola. Il dispositivo è grande abbastanza per accogliere l’intera mano, e sembra essere progettato per l’utilizzo sia da destrorsi che da mancini.

Ogni punto della superficie del device può essere utilizzato per dare un input specifico. Sulla superficie sensibile al tocco possano essere effettuate azioni di più tipo, come ad esempio gestures che effettuiamo normalmente sul display del nostro smartphone o tablet: ad esempio lo scroll con due o tre dita o il pinch in e pinch out (pizzicare).
L’intera superficie superiore può essere ruotata come una manopola, ad esempio per cambiare la selezione di uno strumento in programmi di fotoritocco, oppure per cambiare il volume della musica. Infine, possiamo anche premere fisicamente il device, come se fosse un enorme pulsante.

Inutile sottolineare come un Magic Mouse Pro dotato di queste caratteristiche sarebbe capace di operazioni impensabili per un mouse tradizionale. Le possibilità per la creazione di funzioni specifiche all’interno delle applicazioni più comunemente utilizzate sarebbero infinite.
Ricordiamo che questo brevetto è stato inoltrato il 28 Novembre 2017, e solo ora è stato approvato dall’USPTO, l’ufficio degli Stati Uniti addetto all’approvazione e controllo dei brevetti. Potremo non vedere mai realizzato questo Magic Mouse Pro, ma siamo sicuri di ritrovare le caratteristiche di questo dispositivo in prodotti futuri, magari con un nuovo device input da utilizzare congiuntamente ad un Mac o MacBook di fascia alta.
I nostri contenuti da non perdere:
- 🔝 Importante: Pazza Octopus Energy: nuova offerta imbattibile, bloccala ora per 12 mesi per risparmiare su Luce e Gas
- 💻 Scegli bene e punta al sodo: ecco le migliori offerte MSI notebook business Black Friday 2025
- 💰 Risparmia sulla tecnologia: segui Prezzi.Tech su Telegram, il miglior canale di offerte
- 🏡 Seguici anche sul canale Telegram Offerte.Casa per sconti su prodotti di largo consumo

