Vi ricordate quando i MacBook di Apple avevano il logo della mela morsicata illuminato grazie allo strato trasparente che permetteva alla retro-illuminazione del display di passare? Da quando è stata apportata l’ultima drastica modifica estetica, il logo Apple non si illumina più ma, stando a un nuovo brevetto depositato da Apple, i futuri iPhone potrebbero riportare in voga questa “decorazione” sfruttando un nuovo sistema indipendente con chip di controllo elettronico.
Oltre ad avere il classico logo Apple illuminato, dal brevetto apprendiamo che la tecnologia potrebbe permettere di avere un sistema di illuminazione multi colore, così da poter essere utilizzato non solo per un piacere visivo ma anche per qualcosa di funzionale (per le notifiche ad esempio).

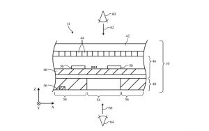
Il brevetto è stato chiamato “Electronic Devices with Adjustable Decoration” e prevede l’utilizzo di uno strato trasparente con l’aggiunta di un componente ottico regolabile che cambia dinamicamente l’illuminazione e l’animazione. Il tutto potrà essere regolato dal sistema operativo del dispositivo. Ciò significa che sarà una futura versione di iOS a permettere il controllo dinamico.
Purtroppo Apple non è scesa nel dettaglio del funzionamento o dei materiali da utilizzare (come del resto accade in ogni brevetto), per cui per adesso non abbiamo alcuna indicazione sul funzionamento fisico del sistema ma sappiamo solo che in futuro il logo Apple potrebbe essere nuovamente illuminato.
È bene specificare che il brevetto non si riferisce solamente agli iPhone ma, in teoria, potrebbe applicarsi anche agli iPad e ai MacBook.
I nostri contenuti da non perdere:
- 🔝 Importante: Recensione CMF Watch 3 Pro: costa poco ma vale ogni centesimo
- 💻 Scegli bene e punta al sodo: ecco le migliori offerte MSI notebook business Black Friday 2025
- 💰 Risparmia sulla tecnologia: segui Prezzi.Tech su Telegram, il miglior canale di offerte
- 🏡 Seguici anche sul canale Telegram Offerte.Casa per sconti su prodotti di largo consumo

