Un brevetto appena concesso a Whoop offre uno sguardo interessante su dove potrebbe dirigersi il futuro hardware dell’azienda. I documenti mostrano un dispositivo indossabile con sensore a pressione progettato per essere posizionato in diverse parti del corpo, non solo al polso.
Il brevetto combina rilevamento ottico con misurazione della forza e punta verso un tracciamento fisiologico più approfondito, incluse informazioni sull’ossigeno muscolare. Cerchiamo di capirne di più.
Indice:
L’ossigeno muscolare come nuovo obiettivo di Whoop
I diagrammi del brevetto mostrano il dispositivo posizionato sulla coscia superiore, mentre altre illustrazioni evidenziano l’utilizzo su petto, braccio e vita. La ragione di questa flessibilità nel posizionamento è legata alla qualità dei dati e al tipo di segnale fisiologico che si vuole misurare.
La fonte che è entrata in possesso di questo brevetto spiega come diverse parti del corpo offrono informazioni molto differenti: i gruppi muscolari più grandi, come i quadricipiti, possono fornire una visione più chiara dell’utilizzo dell’ossigeno muscolare durante l’esercizio, particolarmente utile per la corsa, il ciclismo e l’allenamento della forza. Al contrario, aree come il petto o il torso possono offrire letture più stabili per segnali cardiovascolari più ampi e metriche di recupero.
Il brevetto punta ripetutamente verso la combinazione di rilevamento ottico con dati di pressione per estrarre segnali fisiologici più profondi. Uno dei più interessanti è la saturazione di ossigeno muscolare, una metrica finora limitata principalmente a dispositivi di nicchia e sensori specializzati.


Posizionare un sensore sulla coscia o sul braccio ha molto più senso per questo tipo di misurazione rispetto al polso. Permette al dispositivo di monitorare come i muscoli stanno utilizzando l’ossigeno durante lo sforzo, anziché affidarsi puramente alla frequenza cardiaca come indicatore dell’intensità.
Se Whoop si muove in questa direzione, potrebbe aprire la porta a nuovi tipi di insight per l’allenamento in cui invece di tracciare lo sforzo solo attraverso la risposta cardiovascolare, il sistema potrebbe iniziare a riflettere quanto duramente stanno lavorando i muscoli stessi e quanto velocemente si riprendono.
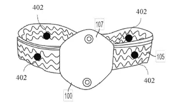
Un altro aspetto importante del brevetto è l’uso del rilevamento della pressione all’interno del cinturino. Anziché presumere che il dispositivo sia indossato correttamente, il sistema può rilevare quanto strettamente è premuto contro la pelle e regolare le letture di conseguenza, con un impatto diretto sulla qualità dei dati.

Samsung Galaxy S26, 512 GB
Galaxy Watch8 LTE è in regalo (da richiedere dopo l'acquisto)
Oltre l’ossigeno muscolare
Sebbene l’angolo dell’ossigeno muscolare sia probabilmente la parte più interessante del brevetto, il documento punta a un insieme più ampio di metriche fisiologiche. Tra i segnali menzionati ci sono la saturazione di ossigeno nel sangue, l’emoglobina ossigenata e deossigenata e i livelli totali di emoglobina, suggerendo che Whoop stia esplorando un’analisi più profonda dei tessuti e del flusso sanguigno.
Il brevetto fa riferimento anche alla perfusione tissutale e ai segnali relativi al flusso sanguigno, che potrebbero potenzialmente essere utilizzati per migliorare le informazioni su recupero e sforzo. C’è inoltre menzione di dati sulla forma d’onda del polso e misurazioni vascolari basate sulla pressione, che potrebbero supportare metriche cardiovascolari più avanzate, inclusi affinamenti delle stime delle tendenze della pressione sanguigna.
Un dettaglio particolarmente rilevante considerando che Whoop offre già la funzione Blood Pressure Insights, suggerendo che questo brevetto potrebbe indicare un hardware futuro progettato per migliorare la qualità e l’affidabilità di quelle letture.

Un dispositivo complementare, non sostitutivo
Naturalmente questo non significa che ci sia qualcosa di confermato; come spesso sottolineiamo quando si parla di brevetti, esso va trattato come un segnale preliminare piuttosto che un’anteprima diretta del prossimo dispositivo.
Ciò che rende questo brevetto particolarmente interessante è che i disegni non sembrano mostrare il posizionamento al polso, concentrandosi invece su altre parti del corpo. Questo apre la possibilità che non si tratti di un sostituto diretto del Whoop standard, ma piuttosto di un dispositivo separato progettato per funzionare insieme al wearable principale, potenzialmente come parte di un ecosistema più ampio di tracciamento corporeo.
A dare peso a questo brevetto c’è il fatto che, in passato, praticamente tutti i brevetti di Whoop sono poi apparsi in prodotti reali. Non è mai una garanzia, ma rende questa prospettiva qualcosa di più di un semplice concetto teorico su carta.
Potrebbero interessarti:
I nostri contenuti da non perdere:
- 🔝 Importante: Alexa+ è arrivata in Italia! Impara chi sei e agisce per te
- 🚨 Vuoi un notebook gaming serio senza spendere troppo? MSI Cyborg 15 con RTX 5060 è la risposta
- 💰 Risparmia sulla tecnologia: segui Prezzi.Tech su Telegram, il miglior canale di offerte
- 🏡 Seguici anche sul canale Telegram Offerte.Casa per sconti su prodotti di largo consumo

